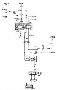
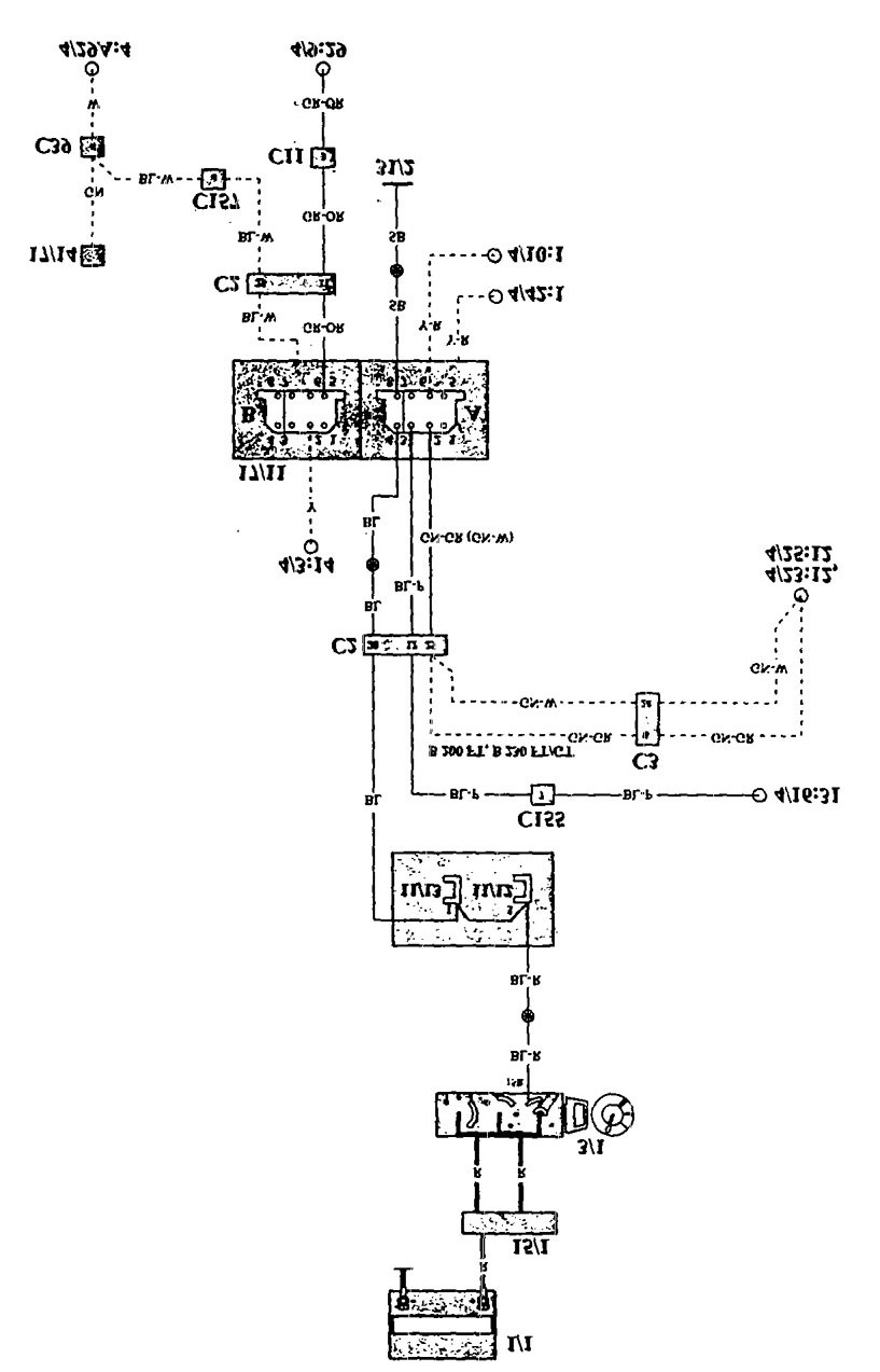
Volvo 940 (1993) – wiring diagrams – driver information center/message center
Year of productions: 1993
Driver information center/message center




WARNING: Terminal and harness assignments for individual connectors will vary depending on vehicle equipment level, model, and market.
