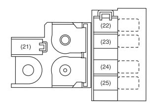
Maruti Suzuki Ritz (Diesel) – fuse box diagram
Fuse box in engine compartment
Maruti Suzuki Ritz – fuse box – engine compartment (diesel)
Maruti Suzuki Ritz – fuse box – engine compartment (diesel)
Maruti Suzuki Ritz – fuse box – engine compartment (diesel)
| Fuse |
Ampere rating [A] |
Description |
| (1) |
30 |
Starting motor fuse |
| (2) |
10 |
Air compressor fuse |
| (3) |
15 |
Fuel pump fuse |
| (4) |
30 |
FI fuse |
| (5) |
30 |
Heater fuse |
| (6) |
30 |
Radiator fan fuse |
| (7) |
50 |
Power steering control module fuse |
| (8) |
— |
Radiator fan relay #1 |
| (9) |
— |
Radiator fan relay #2 |
| (10) |
— |
Radiator fan relay #3 |
| (11) |
— |
Air compressor relay |
| (12) |
— |
Starting motor relay |
| (13) |
30 |
ABS control module fuse |
| (14) |
30 |
ABS control module fuse |
| (15) |
15 |
Brake light switch fuse |
| (16) |
15 |
Headlight (Right) fuse |
| (17) |
15 |
Headlight (Left) fuse |
| (18) |
15 |
Front fog light fuse |
| (19) |
30 |
Ignition switch fuse |
| (20) |
50 |
Power window, Ignition, Wiper, Starter |
| (21) |
100 |
All Electrical Load |
| (22) |
100 |
ABS, MIL, Front fog |
| (23) |
100 |
EPS, Radiator Fan, Heater, Starter Motor |
| (24) |
50 |
Lamp |
| (25) |
100 |
Glow |
| (26) |
30 |
Blank |
| (27) |
30 |
Blank |
| (28) |
— |
Blank |
| (29) |
20 |
FI fuse |
| (30) |
— |
Blank |
| (31) |
10 |
FI3 fuse |
Fuse box under the dash board
Maruti Suzuki Ritz – fuse box – under dash board
| Fuse |
Ampere rating [A] |
Description |
| (1) |
— |
Blank |
| (2) |
15 |
Ignition coil |
| (3) |
10 |
Back-up light |
| (4) |
10 |
Meter |
| (5) |
15 |
Accessory 1 |
| (6) |
15 |
Accessory 2 |
| (7) |
30 |
Power window |
| (8) |
15 |
Wiper / Washer |
| (9) |
10 |
IG1 SIG |
| (10) |
15 |
Air bag |
| (11) |
15 |
Anti-lock brake system |
| (12) |
10 |
Tail light |
| (13) |
— |
Blank |
| (14) |
20 |
Door lock |
| (15) |
— |
Blank |
| (16) |
10 |
ST SIG |
| (17) |
10 |
Immobilizer |
| (18) |
10 |
IG2 SIG |
| (19) |
15 |
Rear fog light |
| (20) |
15 |
Radio |
| (21) |
20 |
Rear defogger |
| (22) |
15 |
Horn/Hazard |
| (23) |
— |
Blank |
| (24) |
— |
Blank |
WARNING: Terminal and harness assignments for individual connectors will vary depending on vehicle equipment level, model, and market.