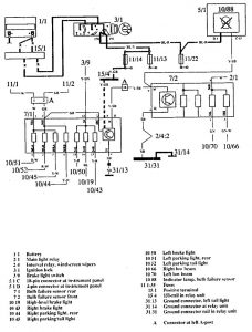
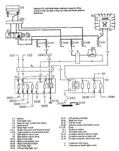
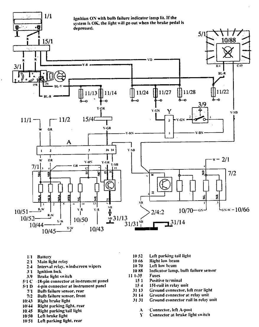
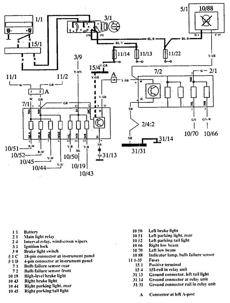
Volvo 960 (1992) – wiring diagrams – audible warning system
Year of productions: 1992
Audible warning system

(part 1)

(part 2)
WARNING: Terminal and harness assignments for individual connectors will vary depending on vehicle equipment level, model, and market.
