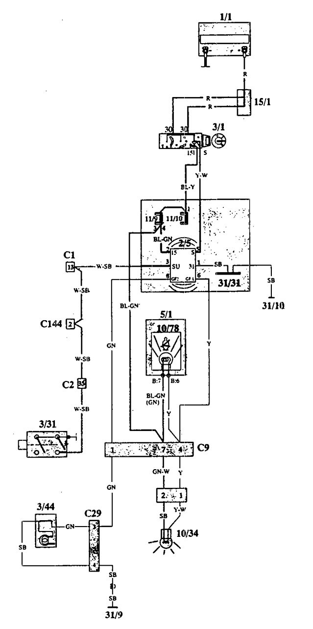
Volvo 940 (1993 – 1994) – wiring diagrams – seat belt warning
Year of productions: 1993, 1994
Seat belt warning




WARNING: Terminal and harness assignments for individual connectors will vary depending on vehicle equipment level, model, and market.
Year of productions: 1993, 1994




WARNING: Terminal and harness assignments for individual connectors will vary depending on vehicle equipment level, model, and market.
Copyright © 2026 | MH Magazine WordPress Theme by MH Themes