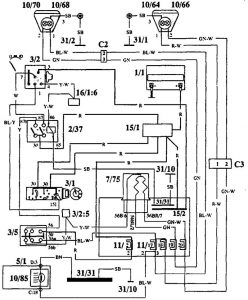
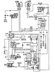
Volvo 940 (1993 – 1994) – wiring diagrams – headlamps
Year of productions: 1993, 1994
Headlamps






WARNING: Terminal and harness assignments for individual connectors will vary depending on vehicle equipment level, model, and market.
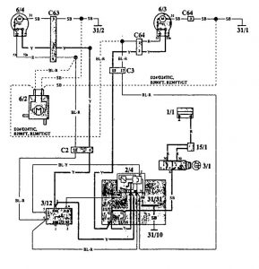
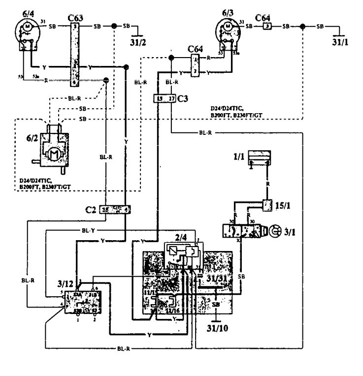
Year of productions: 1993, 1994






WARNING: Terminal and harness assignments for individual connectors will vary depending on vehicle equipment level, model, and market.
Copyright © 2026 | MH Magazine WordPress Theme by MH Themes