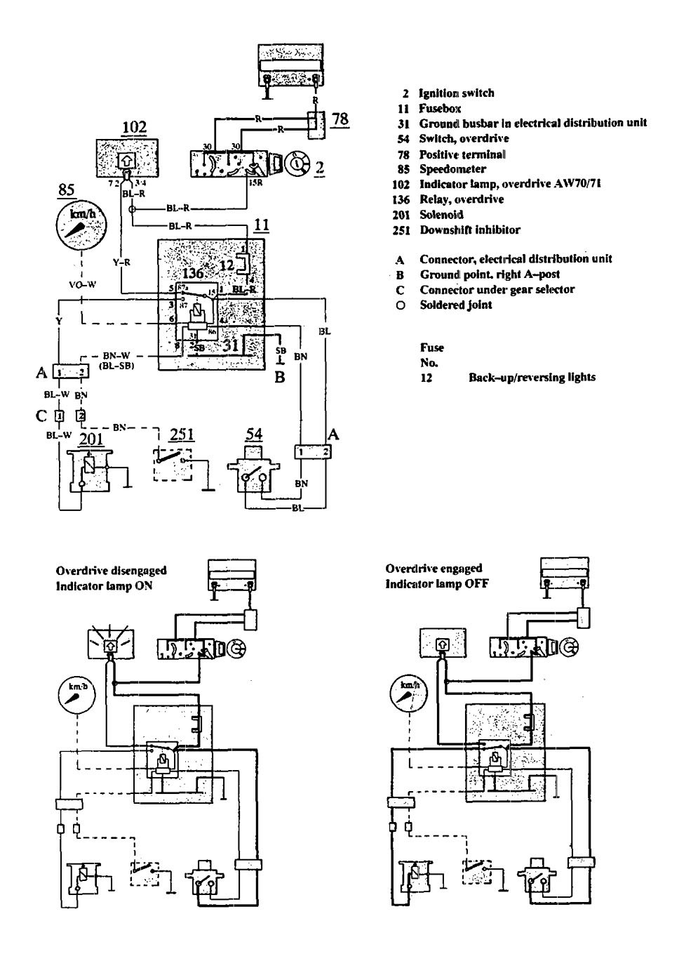
Volvo 740 (1991) – wiring diagrams – overdrive controls
Year of productions: 1991
Overdrive controls
Version 1

Version 2

WARNING: Terminal and harness assignments for individual connectors will vary depending on vehicle equipment level, model, and market.
