Subaru Crosstrek (2018) – fuse box diagram
Year of production: 2018
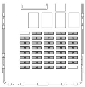
Instrument panel

| Fuse | A | Circuit |
|---|---|---|
| 1 | — | — |
| 2 | 20 | CIGAR SEAT/H |
| 3 | 7.5 | IG A-1 |
| 4 | 15 | AUDIO NAVI |
| 5 | 15 | IG B-2 |
| 6 | — | — |
| 7 | 15 | 12V SOCKET |
| 8 | 15 | A/C IG |
| 9 | 7.5 | ACC |
| 10 | 7.5 | IG B-1 |
| 11 | — | — |
| 12 | Empty | |
| 13 | 7.5A | IG A-3 |
| 14 | 7.5A | UNIT +B |
| 15 | 7.5A | METER IG |
| 16 | Empty | |
| 17 | 7.5A | MIRROR |
| 18 | 7.5A | LAMP IG |
| 19 | 10A | IG A-2 |
| 20 | 10A | SRS AIR BAG |
| 21 | Empty | |
| 22 | 15 | STRG/H |
| 23 | 10 | DRL |
| 24 | — | — |
| 25 | — | — |
| 26 | 10 | BACK UP |
| 27 | — | — |
| 28 | 20 | TRAIL R.FOG |
| 29 | — | — |
| 30 | — | — |
| 31 | — | — |
| 32 | 7.5 | ILLUMI |
| 33 | 7.5 | KEY SWA |
| 34 | — | — |
| 35 | — | — |
| 36 | 7.5 | KEY SW B |
| 37 | 7.5 | STOP |
| 38 | 7.5 | EYE SIGHT |
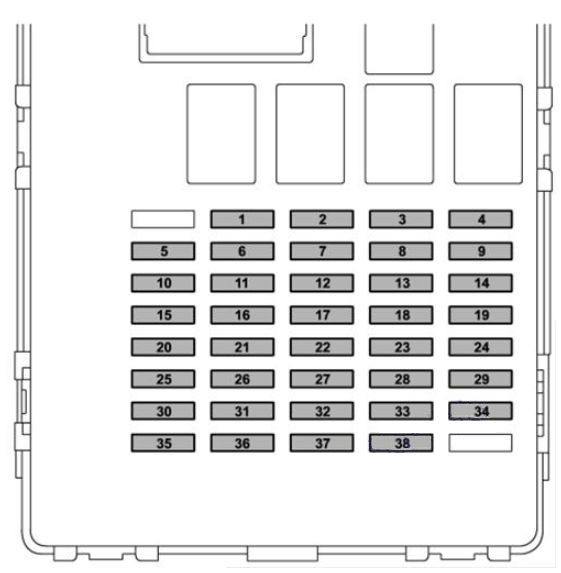
Engine compartment

| Fuse | A | Circuit |
|---|---|---|
| 1 | 7.5 | HORN 2 |
| 2 | 7.5 | HORN 1 |
| 3 | 15 | H/L LO RH |
| 4 | 15 | H/L LO LH |
| 5 | 7.5 | ACTGS |
| 6 | 10 | H/L HI RH |
| 7 | 10 | H/L HI LH |
| 8 | 10 | TAIL |
| 9 | 10 | ODS |
| 10 | 7.5 | OBD |
| 11 | 7.5 | PU B/UP |
| 12 | 30 | JB-B |
| 13 | 15 | HAZARD |
| 14 | 20 | FUEL |
| 15 | 7.5 | D-OP+B |
| 16 | 10 | MB-B |
| 17 | 15 | D/L |
| 18 | 10 | DCM |
| 19 | 20 | TCU |
| 20 | 7.5 | CVT SSR |
| 21 | 15 | IG COIL |
| 22 | 10 | AVCS |
| 23 | 10 | E/G2 |
| 24 | — | — |
| 25 | — | — |
| 26 | 20 | O2 HTR |
| 27 | 15 | E/G1 |
| 28 | — | — |
| 29 | 30 | BACKUP |
| 30 | 25 | R. DEF |
| 31 | 20 | AUDIO |
| 32 | 30 | VDC SOL |
| 33 | 25 | MAIN FAN |
| 34 | 25 | SUB FAN |
| 35 | 10 | DEICER |
| 36 | 15 | F. FOG |
| 37 | 15 | BLOWER |
| 38 | 15 | BLOWER |
| 39 | — | |
| 40 | 30 | F. WIPER |
| 41 | 15 | F. WASH |
| 42 | 15 | R. WIPER |
| 43 | — | — |
| 44 | — | — |
WARNING: Terminal and harness assignments for individual connectors will vary depending on vehicle equipment level, model, and market.
