Nissan Murano (2002 – 2007) – fuse box diagram
Year of production: 2002, 2003, 2004, 2005, 2006, 2007
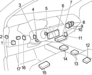
Passenger Compartment
LHD

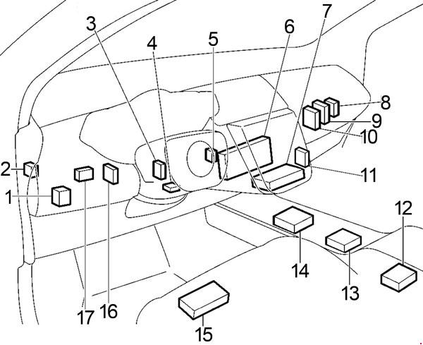
RHD

- Fuse Box
- 4WD Control Unit
- Body Control Module (BCM)
- Shift Lock Control Unit
- Nissan Anti Theft System Immobiliser (NATS IMMU)
- Display Control Unit (with Navigation System)
- Unified Meter and A/C Amplifier
- Tire Pressure Warning Control Unit
- Transmission Control Module (TCM)
- Engine Control Module (ECM)
- Remote Keyless Entry Control Unit
- Air Bag Diagnosis Sensor Unit
- Transfer Unit
- Navigation Control Unit
- Driver Control Unit
- Time Control Unit
- Automatic Drive Positioner Control Unit
Passenger Compartment Fuse Box

| No. |
A |
Circuit Protected |
| 1 | 10 | Main Power Supply And Ground Circuit, Fuel Injection System Function, Injector, Nissan Anti – Theft System, Power Window, Sunroof, Rear Window Defogger, Automatic Drive Positioner, Headlamp, Headlamp Aiming Control System, Daytime Light System, Combination Switch, Turn Signal and Hazard Warning Lamp, Parking Lamps, License Lamps, Tail Lamps, Front Fog Lamps, Rear Fog Lamp, Interior Room Lamp, Illumination, Warning Chime, Front Wiper and Washer, Rear Wiper and Washer, Headlamp Cleaner, Remote Keyless Entry System, Vehicle Information And Integrated Switch System, Navigation System |
| 2 | – | – |
| 3 | – | – |
| 4 | – | – |
| 5 | 15 | Cigarette Lighter |
| 6 | 10 | Theft Warning System (Pre-wire), Rear Window Defogger, Automatic Drive Positioner, Air Conditioner, Headlamp, Daytime Light System, Headlamp Aiming Control System, Turn Signal and Hazard Warning Lamp, Combination Switch, Parking Lamps, License Lamps, Tail Lamps, Rear Fog Lamp, Illumination, Headlamp Cleaner, Audio, Navigation System, Low Tire Pressure Warning System, Vehicle Security System, Remote Keyless Entry System, Power Window, Power Door Mirror, Front Fog Lamp, Vehicle Information And Integrated Switch System, Audio Visual Communication Line |
| 7 | 15 | Power Socket |
| 8 | 10 | Rear Window Defogger |
| 9 | 10 | Automatic Drive Positioner |
| 10 | 15 | Air Conditioner, Speedometer, Tachometer, Temp., And Fuel Gauges |
| 11 | 15 | Air Conditioner, Speedometer, Tachometer, Temp., And Fuel Gauges |
| 12 | 10 | Automatic Speed Control Device (ASCD) Brake Switch, Mil & Data Link Connectors, Manual Mode Switch, Non-Detective Items, CVT Shift Lock System, 4WD Control System, ESP/TCS/ABS/VDC Control System, Power Door Lock, Remote Keyless Entry System, Rear Window Defogger, Heated Seat, Headlamp Aiming Control System, Air Conditioner, Speedometer, Tachometer, Temp., And Fuel Gauges, Turn Signal and Hazard Warning Lamp, Warning Lamps, CVT Indicator Lamp, Warning Chime, Navigation System, Telephone (Pre-wire)б Fuel Tank Temperature Sensor, Second position Switch, Low Tire Pressure Warning System, Adjustable Pedal System, Audio, Audio Visual Communication Line, Vehicle Information And Integrated Switch System |
| 13 | 10 | Supplemental Restraint System |
| 14 | 10 | Automatic Speed Control Device (ASCD) Indicator, Mil & Data Link Connectors, Manual Mode Switch, Non-Detective Items, 4WD Control System, ESP/TCS/ABS/VSC Control System, Supplemental Restraint System, Inside Mirror (Auto Anti-Dazzling Mirror), Charging System, Headlamp, Daytime Light System, Turn Signal and Hazard Warning Lamp, Back-Up Lamp, Rear Fog Lamp, Illumination, Speedometer, Tachometer, Temp., And Fuel Gauges, Warning Lamps, Navigation System, CVT Indicator Lamp, Warning Chime, Second position Switch |
| 15 | 15 | Heated Oxygen Sensor, Air Fuel Ratio Sensor, Fuel Injection System Function |
| 16 | – | – |
| 17 | 15 | Power Socket |
| 18 | 10 | Theft Warning System (Pre-wire), Interior Lamp, Interior Room Lamp |
| 19 | 10 | Engine Mount, Mil & Data Link Connectors, Manual Mode Switch, Non-Detective Items, 4WD Control System, ESP/TCS/ABS Control System, Power Door Lock, Remote Keyless Entry System, Rear Window Defogger, Air Conditioner, Turn Signal Lamp, Hazard Warning Lamp, Rear Window Defogger, Warning Lamps, CVT Indicator Lamp, Warning Chime, Fuel Tank Temperature Sensor, Second Position Switch, Low Tire Pressure Warning System, VDC System, Homelink Universal Transceiver, Inside Mirror (Auto Anti-Dazzling Mirror), Navigation System, Vehicle Information And Integrated Switch System, Audio Visual Communication Line |
| 20 | 10 | Stop Lamp, Brake Switch, Automatic Speed Control Device (ASCD) Brake Switch, Non-Detective Items, CVT Shift Lock System, ESP/TCS/ABS/VDC Control System |
| 21 | 10 | Automatic Speed Control Device (ASCD) Indicator, Mil & Data Link Connectors, Manual Mode Switch, Non-Detective Items, Power Supply Routing, 4WD Control System, CVT Shift Lock System, ESP/TCS/ABS/VDC Control System, Power Door Lock, Theft Warning System (Pre-wire), Nissan Anti – Theft System, Automatic Drive Positioner, Headlamp, Daytime Light System, Turn Signal and Hazard Warning Lamp, Rear Fog Lamp, Interior Room Lamp, Illumination, Speedometer, Tachometer, Temp., And Fuel Gauges, Warning Lamps, CVT Indicator Lamp, Warning Chime, Second position Switch, Low Tire Pressure Warning System, Remote Keyless Entry System, Vehicle Security System, Adjustable Pedal System, |
| 22 | 10 | Power Door Lock |
| S | – | Spare fuses |

| No. |
Relay |
| R1 | Blower |
| R2 | Accessory |
Engine Compartment
LHD

RHD

- Fusible Link Block
- Fuse Box No.2
- Fuse Box No.1 (IPDM E/R)
- ABS Actuator and Electric Unit
- Front Wiper Motor
Engine Compartment Fuse Box (Type 1)

| № |
A |
Circuit Protected |
| 71 | 10 | Transmission Control Module, Secondary Speed Sensor CVT (Revolution Sensor) |
| 72 | 15 | Front Fog Lamp Relay |
| 73 | 15 | IPDM E/R |
| 74 | 30 | Front Wiper Relay |
| 75 | 10 | Tail Lamp Relay |
| 76 | 15 | Throttle Control Motor Relay |
| 77 | 20 | Rear Window Defogger Relay |
| 78 | 20 | Rear Window Defogger Relay |
| 79 | 10 | Air Conditioner Relay |
| 80 | 10 | Front Wiper Relay |
| 81 | 15 | Fuel Pump Relay |
| 82 | 15 | ECM Relay |
| 83 | 15 | Headlights RH (Low Beam), Automatic Light System, Vehicle Security System |
| 84 | 15 | Headlights LH (Low Beam), Automatic Light System, Vehicle Security System |
| 85 | 10 | Headlights LH (High Beam), Automatic Light System, Vehicle Security System |
| 86 | 10 | Headlights RH (High Beam), Automatic Light System, Vehicle Security System |
| 87 | 10 | Front Wiper and Washer, Rear Wiper and Washer |
| 88 | 10 | AWD System, Anti-lock Brake System, Vehicle Dynamics Control System |
| 89 | 10 | – |
| Relay |
||
| R1 | Fuel Pump | |
| R2 | Air Conditioner | |
| R3 | Ignition | |
| R4 | Cooling Fan (No.3) | |
| R5 | Cooling Fan (No.2) | |
| R6 | Cooling Fan (No.1) | |
| R7 | Headlamp Low | |
| R8 | Headlamp High | |
| R9 | Front Fog Lamp | |
| R10 | Starter | |
| R11 | Throttle Control Motor | |
| R12 | Engine Control Module | |
Engine Compartment Fuse Box (Type 2)

| № |
A |
Circuit Protected |
| 71 | 10 | Parking Lamps, License Lamps, Tail Lamps, Headlamp Aiming Control System, Illumination |
| 72 | 10 | Headlights RH (High Beam), Daytime Light System |
| 73 | 30 | Front Wiper Relay |
| 74 | 10 | Headlights LH (High Beam), Daytime Light System |
| 75 | 20 | Rear Window Defogger Relay |
| 76 | 15 | Headlights RH (Low Beam), Daytime Light System |
| 77 | 15 | ECM Relay, ECM Power Supply For Back-Up, Nissan Anti – Theft System |
| 78 | 15 | Daytime Light Relay |
| 79 | 10 | A/C Relay |
| 80 | 20 | Rear Window Defogger Relay |
| 81 | 15 | Fuel Pump Relay |
| 82 | 10 | 4WD Control System, ESP/TCS/ABS Control System |
| 83 | 10 | Transmission Control Module, Secondary Speed Sensor CVT (Revolution Sensor) |
| 84 | 10 | Front Wiper and Washer, Rear Wiper and Washer |
| 85 | 15 | – |
| 86 | 15 | Headlights LH (Low Beam), Daytime Light System |
| 87 | 15 | Throttle Control Motor Relay |
| 88 | 15 | Front Fog Lamp Relay |
| 89 | 10 | – |
| Relay |
||
| R1 | Engine Control Module | |
| R2 | Headlamp High | |
| R3 | Headlamp Low | |
| R4 | Starter | |
| R5 | Ignition | |
| R6 | Cooling Fan (No.3) | |
| R7 | Cooling Fan (No.1) | |
| R8 | Cooling Fan (No.2) | |
| R9 | Throttle Control Motor | |
| R10 | Fuel Pump | |
| R11 | Front Fog Lamp | |
Engine Compartment Fuse Box No.2

| No. |
A |
Circuit Protected |
| 31 | 10 | ECM Power Supply For Back-Up |
| 32 | 10 | Horn, Remote Keyless Entry System, Vehicle Security System |
| 33 | 10 | Charging System |
| 34 | 30 | Parking Lamps, License Lamps, Tail Lamps |
| 35 | 10 | Back Door Opener |
| 36 | 15 | Heated Seat |
| 37 | 10 | 4WD Control System |
| 38 | 15 | Audio, Navigation System, Telephone (Pre-wire), Rear Window Defogger, Vehicle Information And Integrated Switch System, Audio Visual Communication Line |
| F | 50 | Power Door Lock, Remote Keyless Entry System, Back Door Opener, Theft Warning System (Pre-wire), Power Window, Rear Window Defogger, Sunroof, Automatic Drive Positioner, Power Seat, Headlamp, Daytime Light System, Headlamp Aiming Control System, Turn Signal and Hazard Warning Lamp, Combination Switch, Parking Lamps, License Lamps, Tail Lamps, Rear Fog Lamp, Interior Room Lamp, Illumination, Warning Chime, Front Wiper and Washer, Rear Wiper and Washer, Headlamp Cleaner, Low Tire Pressure Warning System, Vehicle Security System, Nissan Anti – Theft System, Power Door Mirror, Adjustable Pedal System, Front Fog Lamp, Vehicle Information And Integrated Switch System, Navigation System |
| G | 30 | Anti-lock Brake System |
| H | 30 | ESP/TCS/ABS Control System |
| I | 40 | Headlamp Cleaner |
| J | 50 | ESP/TCS/ABS Control System |
| K | 40 | Cooling Fan Control |
| L | 40 | Cooling Fan Control |
| M | 40 | Ignition Switch |
| Relay |
||
| R1 | Horn Relay | |
| R2 | Headlamp Washer | |
Fusible Link Block

| No. |
A |
Circuit Protected |
| A | 120 | Charging System, “B”, “C” Fuses |
| B | 100 | “31”, “32”, “33”, “34”, “35”, “36”, “37”, “38”, “F”, “G”, “H”, “I”, “J”, “K”, “L”, “M” fuses |
| C | 80 | Type 1: Headlamp High Relay (“85”, “86” fuses), Headlamp Low Relay (“83”, “84” fuses), “72”, “74”, “75”, “76”, “77”, “79” fuses Type 2: Headlamp High Relay (“72”, “74” fuses), Headlamp Low Relay (“76”, “86” fuses), “71”, “73”, “75”, “87” fuses |
| D | 60 | Accessory Relay (“5”, “6”, “7” fuses), Blower Relay (“10”, “11” fuses), “17”, “18”, “19”, “20”, “21” fuses |
| E | 80 | Type 1: Ignition Relay (“71”, “80”, “81”, “87”, “88” fuses), “73”, “78”, “82” fuses Type 2: Ignition Relay (A/C Relay, Front Wiper Relay. Front Wiper High Relay, “81”, “82”, “83”, “84” fuses), “77”, “78”, “79”, “80” fuses |
WARNING: Terminal and harness assignments for individual connectors will vary depending on vehicle equipment level, model, and market.
