HUMMER H2 (2009 – 2010) – fuse box diagram
Year of production: 2009, 2010
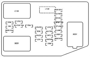
Instrument Panel Fuse Block
The instrument panel fuse block access door is located on the driver side edge of the instrument panel.
| Fuses | Usage |
| AUX PWR | Rear Cargo Accessory Power Outlets |
| AUX PWR 2 | Floor Console Power Outlets |
| BCM | Body Control Module |
| CTSY | Dome Lamps, Front Passenger Side Turn Signal |
| DDM | Driver Door Module |
| DIM | Instrument Panel Back Lighting |
| DSM | Drive Seat Module |
| INFO | Infotainment System, Remote Keyless Entry System |
| IS LPS | Interior Lamps |
| LCK 1 | Power Door Lock 1 (Lock Feature) |
| LCK2 | Power Door Lock 2 (Lock Feature) |
| LT DR | Driver Side Power Window Circuit Breaker |
| LT STOP TRN | Driver Side Turn Signal, Stoplamp |
| ONSTAR | OnStar® |
| PDM | Passenger Door Module |
| REAR HVAC | Rear Climate Controls |
| REAR SEAT | Rear Seat |
| REAR WPR | Rear Wiper |
| RT STOP TRN | Passenger Side Turn Signal, Stoplamp |
| STOP LAMPS | Stoplamps, Center High‐Mounted Stoplamp |
| SWC BKLT | Steering Wheel Controls Backlight |
| UGDO | Universal Home Remote System |
| UNLCK1 | Power Door Lock 1 (Unlock Feature) |
| UNLCK2 | Power Door Lock 2 (Unlock Feature) |
| Harness Connector | Usage |
| LT DR | Driver Door Harness Connection |
| BODY | Harness Connector |
| BODY | Harness Connector |
Center Instrument Panel Fuse Block
The center instrument panel fuse block is located underneath the instrument panel, to the left of the steering column.
Top View
| Harness Connector | Usage |
| BODY 2 | Body Harness Connector 2 |
| BODY 1 | Body Harness Connector 1 |
| BODY 3 | Body Harness Connector 3 |
| HEADLINER 3 | Headliner Harness Connector 3 |
| HEADLINER 2 | Headliner Harness Connector 2 |
| HEADLINER 1 | Headliner Harness Connector 1 |
| SEO/UPFITTER | Special Equipment Option Upfitter Harness Connector |
| Circuit Breaker | Usage |
| CB1 | Passenger Side Power Window Circuit Breaker |
| CB2 | Passenger Seat Circuit Breaker |
| CB3 | Driver Seat Circuit Breake |
| CB4 | Rear Sliding Window |
Underhood Fuse Block
The underhood fuse block in the engine compartment is located on the driver side of the vehicle near the battery.
| Fuses | Usage |
| 1 | Left Trailer Stop/Turn Lam |
| 2 | Engine Controls |
| 3 | Engine Control Module, Throttle Control |
| 4 | Right Trailer Stop/Turn Lamp |
| 5 | Front Washer |
| 6 | Oxygen Sensors |
| 7 | Vehicle Stability System, Antilock Brake System-2 |
| 8 | Trailer Back-up Lamps |
| 9 | Left Low-Beam Headlamp |
| 10 | Engine Control Module (Battery) |
| 11 | Fuel Injectors, Ignition Coils (Right Side) |
| 12 | Transmission Control Module (Battery) |
| 13 | Vehicle Back-up Lamps |
| 14 | Right Low-Beam Headlamp |
| 15 | Air Conditioning Compressor |
| 16 | Oxygen Sensors |
| 17 | Transmission Controls (Ignition) |
| 18 | Fuel Pump |
| 19 | Rear Washer |
| 20 | Fuel Injectors, Ignition Coils (Left Side) |
| 21 | Trailer Park Lamps |
| 22 | Left Park Lamps |
| 23 | Right Park Lamps |
| 24 | Horn |
| 25 | Right Side High-Beam Headlamp |
| 26 | Daytime Running Lamps (DRL) |
| 27 | Left High-Beam Headlamp |
| 28 | Sunroof |
| 29 | Key Ignition System, Theft Deterrent System |
| 30 | Windshield Wiper |
| 31 | SEO B2 Upfitter Usage (Battery) |
| 32 | Electrically Controlled Air Suspension |
| 33 | Climate Controls (Battery) |
| 34 | Airbag System (Ignition) |
| 35 | Amplifier |
| 36 | Audio System |
| 37 | Miscellaneous (Ignition), Cruise Control, Rear Vision Camera |
| 38 | Airbag System (Battery) |
| 39 | Instrument Panel Cluster |
| 40 | Run, Accessory |
| 41 | Auxiliary Climate Control (Ignition) |
| 42 | Rear Defogger |
| 43 | SEO B1 Upfitter Usage (Battery) |
| 44 | Cigarette Lighter, Auxiliary Power Outlet |
| 45 | Special Equipment Option (SEO) |
| 46 | Climate Controls (Ignition) |
| 47 | Engine Control Module (Ignition) |
| 50 | Cooling Fan 1 (J-Case) |
| 51 | Electronically Controlled Air Suspension (J-Case) |
| 52 | Vehicle Stability System, Antilock Brake System-1 (J-Case) |
| 53 | Cooling Fan 2 (J-Case) |
| 54 | Starter (J-Case) |
| 55 | Stud 2 Trailer Brake Module (J-Case) |
| 56 | Left Bussed Electrical Center 1 (J-Case) |
| 57 | Heated Windshield Washer System (J-Case) |
| 58 | Four-Wheel Drive System (J-Case) |
| 59 | Stud 1 Trailer Connector Battery Power (J-Case) |
| 60 | Mid Bussed Electrical Center 1 (J-Case) |
| 61 | Climate Control Blower (J-Case) |
| 62 | Left Bussed Electrical Center 2 (J-Case) |
| Relays | Usage |
| A/C CMPRSR | Air Conditioning Compressor |
| FAN CNTRL | Cooling Fan Contro |
| FAN HI | Cooling Fan High Speed |
| FAN LO | Cooling Fan Low Speed |
| HDLP LO | Low-Beam Headlamp |
| PRK LAMP | Parking Lamps |
| PWR/TRN | Powertrain |
| REAR DEFOG | Rear Defogger |
| RUN/CRNK | Switched Power |
| STRTR | Starter |
WARNING: Terminal and harness assignments for individual connectors will vary depending on vehicle equipment level, model, and market.



