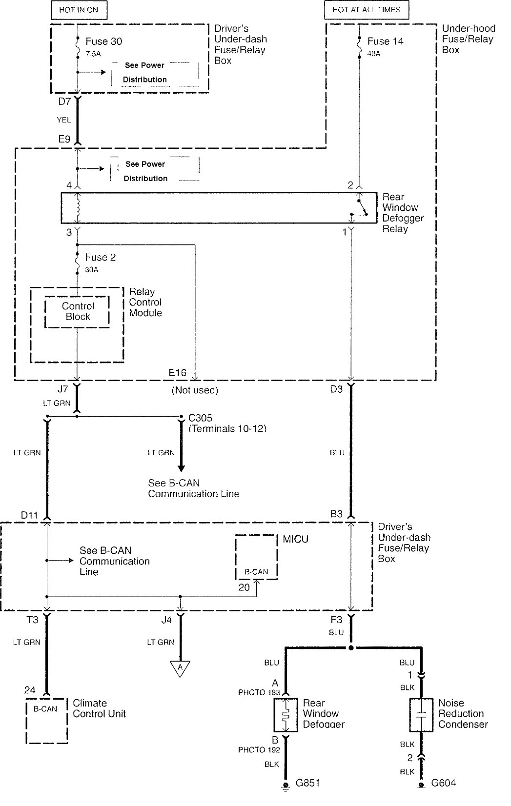
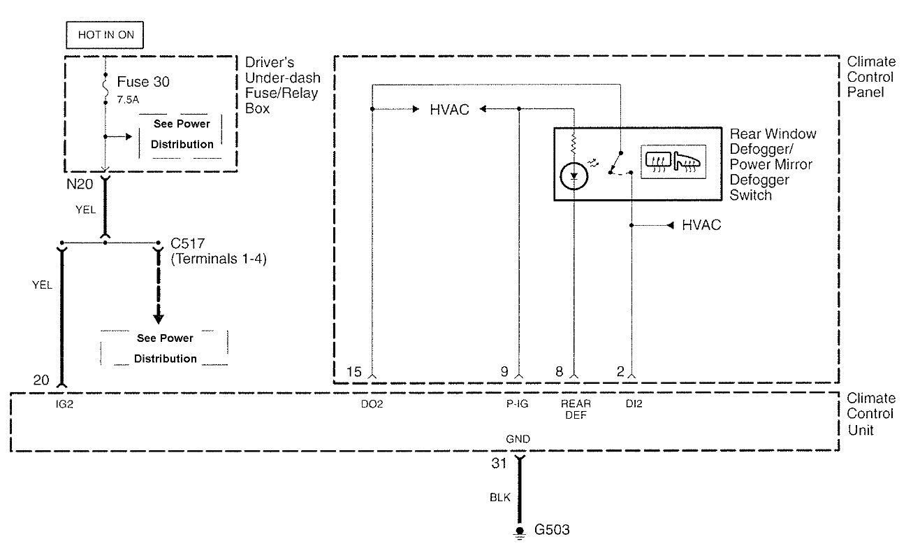
Acura RL (2007 – 2008) – wiring diagrams – rear window defogger
Year of productions: 2007, 2008
Rear window defogger




WARNING: Terminal and harness assignments for individual connectors will vary depending on vehicle equipment level, model, and market.
