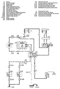
Volvo 960 (1992 – 1994) – wiring diagrams – seat belt warning
Year of productions: 1992, 1993, 1994
Seat belt warning

WARNING: Terminal and harness assignments for individual connectors will vary depending on vehicle equipment level, model, and market.
