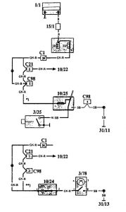
Volvo 940 (1993 – 1994) – wiring diagrams – luggage compartment lamps
Year of productions: 1993, 1994
Luggage compartment lamps




WARNING: Terminal and harness assignments for individual connectors will vary depending on vehicle equipment level, model, and market.
