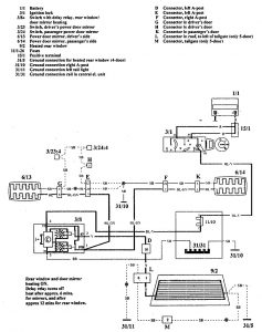
Volvo 940 (1992) – wiring diagrams – rear window defogger
Year of productions: 1992
Rear window defogger
Version 1

Version 2

WARNING: Terminal and harness assignments for individual connectors will vary depending on vehicle equipment level, model, and market.
