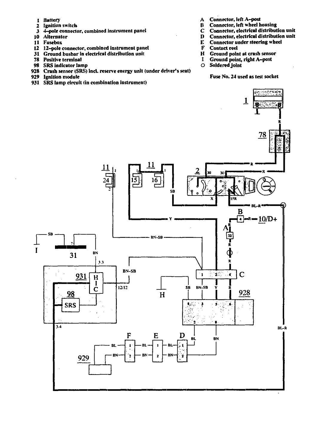
Volvo 940 (1991) – wiring diagrams – air bags

Volvo 940 (1991) – wiring diagrams – air bags

Year of productions:  1991

Air bags

Volvo 940 – wiring diagram – air bags

WARNING: Terminal and harness assignments for individual connectors will vary depending on vehicle equipment level, model, and market.