Toyota 86 (2012 – 2017) – fuse box diagram

Toyota 86 (2012 – 2017) – fuse box diagram

Year of production: 2012, 2013, 2014, 2015, 2016, 2017

Passenger Compartment

LHD

Toyota 86 - fuse box diagram - passenger compartment LHD
Toyota 86 – fuse box diagram – passenger compartment LHD

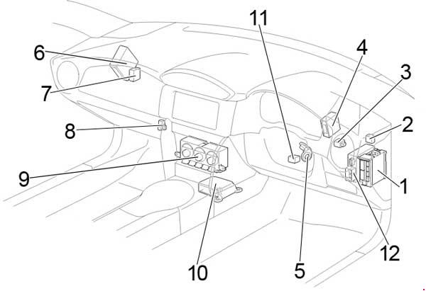
RHD

Toyota 86 - fuse box diagram - passenger compartment RHD
Toyota 86 – fuse box diagram – passenger compartment RHD
Number Description
1 Fuse Box / Main Body ECU
2 Headlight Leveling ECU
3 Turn Signal Flasher
4 Transmission Control ECU
5 Transponder Key Amplifier
6 ECM
7 Control Unit Relay
8 Relay Box
9 A/C Control
10 Airbag ECU
11 Steering Lock Actuator
12 Power Steering ECU

Passenger Compartment Fuse Box

Toyota 86 - fuse box diagram - passenger compartment fuse box
Toyota 86 – fuse box diagram – passenger compartment fuse box
Description Ampere rating [A] Description
1 P/POINT NO.1 15 Power outlet
2 RADIO 7,5 Audio system
3 SEAT HTR RH 10 Right-hand seat heater
4 SEAT HTR LH 10 Left-hand seat heater
5 ECU IG2 10 Engine control unit
6 GAUGE 7,5 Gauge and meters
7 AT UNIT 15 Transmission
8
9
10
11
12
13 AMP 15 Audio system
14
15 AM1 7,5 Starting system
16
17
18
19
20 ECU IG1 10 ABS, electric power steering
21 BK/UP LP 7,5 Back-up lights
22 FR FOG RH 10 Right-hand front fog light
23 FR FOG LH 10 Left-hand front fog light
24 HEATER 10 Air conditioning system
25 HEATER-S 7,5 Air conditioning system
26
27 OBD 7,5 On-board diagnosis system
28
29
30 STOP 7,5 Stop lights
31
32
33
34 DRL 10 Daytime running light system
35
36 TAIL 10 Tail lights
37 PANEL 10 Illumination
38 P/POINT NO.2 15 Power outlet
39 ECU ACC 10 Main body ECU, outside rear view mirrors

Passenger Compartment Relay Box

Toyota 86 - fuse box diagram - passenger compartment relay box
Toyota 86 – fuse box diagram – passenger compartment relay box
Description Ampere rating [A] Description
1
Relay
R1 Blower Motor
Toyota 86 - fuse box diagram
Toyota 86 – fuse box diagram
Number Description
1 Door Control Receiver
2 Tire Pressure Warning ECU and Receiver
3 Fuel Pump Control ECU

Engine Compartment

Toyota 86 - fuse box diagram - engine compartment
Toyota 86 – fuse box diagram – engine compartment
Number Description
1 Fuse Box
2 LHD: Fusible Link Block
3 RHD: Fusible Link Block
4 Brake Actuator
5 Headlight Cleaner Control Relay
6 Injector Driver (EDU)

 

Engine Compartment Fuse Box

Toyota 86 - fuse box diagram - engine compartment fuse box
Toyota 86 – fuse box diagram – engine compartment fuse box
Description Ampere rating [A] Description
1 A/B MAIN 15 SRS airbag system
2
3 IG2 7,5 Engine control unit
4 DOME 20 Interior light
5 ECU-B 7,5 Wireless remote control, main body ECU
6 HORN NO.2 7,5 Horn
7 HORN NO.1 7,5 Horn
8 H-LP LH LO 15 Left-hand headlight (low beam)
9 H-LP RH LO 15 Right-hand headlight (low beam)
10 H-LP LH HI 10 Left-hand headlight (high beam)
11 H-LP RH HI 10 Right-hand headlight (high beam)
12 ST 7,5 Starting system
13 ALT-S 7,5 Charging system
14 STR LOCK 7,5 Steering lock system
15 D/L 20 Power door lock
16 ETCS 15 Engine control unit
17 AT+B 7,5 Transmission
18 AM2 NO.2 7,5 Smart entry & start system
19
20 EFI (CTRL) 15 Engine control unit
21 EFI (HTR) 15 Multiport fuel injection system/sequential multiport fuel injection system
22 EFI (IGN) 15 Starting system
23 EFI (+B) 7,5 Engine control unit
24 HAZ 15 Turn signal lights, emergency flashers
25 MPX-B 7,5 Automatic air conditioning system, gauge and meters
26 F/PMP 20 Multiport fuel injection system/sequential multiport fuel injection system
27 IG2 MAIN 30 SRS airbag system, engine control unit
28 DCC 30 “ECU-B”, “DOME” fuses
29
30 PUSH-AT 7,5 Engine control unit
31
32 WIPER 30 Windshield wipers
33 WASHER 10 Windshield washer
34 D FL DOOR 25 Power window
35 ABS NO.2 25 ABS
36 D-OP 25
37 CDS 25 Electric cooling fan
38 D FR DOOR 25 Power window
39 RR FOG 10 Rear fog light
40 RR DEF 30 Rear window defogger
41 MIR HTR 7,5 Outside rear view mirror defoggers
42 RDI 25 Electric cooling fan
43 Spare fuse
44 Spare fuse
45 Spare fuse
46 Spare fuse
47 Spare fuse
48 Spare fuse
49 ABS NO.1 40 ABS
50 HEATER 50 Air conditioning system
51 INJ 30 Multiport fuel injection system/sequential multiport fuel injection system
52 H-LP WASHER 30 Headlight cleaners
53 AM2 NO.1 40 Starting system, engine control unit
54 EPS 80 Electric power steering
Relay
R1 (EFI MAIN1)
R2 Electric cooling fan (FAN NO.3)
R3 Heater
R4 (EFI MAIN3)
R5 (ETCS)
R6 Horn
R7 (H-LP)
R8 Dimmer (DIM)
R9 (EFI MAIN2)
R10 Fuel pump (C/OPEN)
R11 Inhibitor
R12 with Front Marker Light: (DRL RH)
without Front Marker Light: Daytime running light system (DRL)
R13 Starter (ST CUT)
R14 (IGS)
R15 Rear window defogger (RR DEF)
R16 Starter (ST)
R17 Ignition (IG2)
R18 with Front Marker Light: (DRL LH)
without Front Marker Light: Rear fog light (RR FOG)
R19 Electric cooling fan (FAN NO.2)
R20 (INJ)
R21 Outside rear view mirror defoggers (MIR HTR)
R22 Electric cooling fan (FAN NO.1)
R23 Windshield wipers (WIPER)

Fusible Link Block

Toyota 86 - fuse box diagram - fusible link box
Toyota 86 – fuse box diagram – fusible link box
Number Fuse Ampere rating [A] Description
1 ALT 140 Charging system
2 MAIN 80 Horn relay, headlight relay, dimmer relay, “ALT-S”, “ETCS”, “F/PMP”, “MPX-B”, “HAZ”, “EFI (+B)”, “EFI (IGN)”, “EFI (HTR)”, “EFI (CTRL)”, “AT+B”, “IG2 MAIN”, “AM2 NO.2”, “EPS”, “INJ”, “AM2 NO.1”, “H-LP WASHER”, “STR LOCK”, “DCC”, “D/L” fuses

 

WARNING: Terminal and harness assignments for individual connectors will vary depending on vehicle equipment level, model, and market.