Saturn VUE (2005 – 2007) – fuse box diagram
Year of production: 2005, 2006, 2007
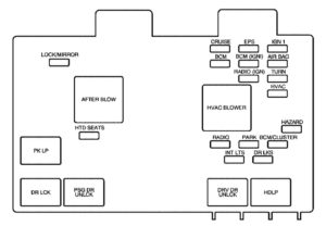
Instrument Panel Fuse Block
The instrument panel fuse block is located on the passenger’s side of the lower console.

| Fuses | Usage |
| CRUISE | Cruise Control Switch, Brake Switch |
| EPS | Electronic Power Steering |
| IGN 1 | Instrument Cluster, Brake Transmission Shift Interlock Solenoid, Traction Switch, Fog Lamp Switch |
| LOCK/MIRROR | Power Door Locks, Power Mirror, Entry Control |
| BCM | Body Control Module, Front Wipers, Windows, Sunroof |
| BCM (IGN 1) | Body Control Module |
| AIR BAG | Sensing and Diagnostic Module |
| RADIO (IGN | Radio, Power Mirror, Premium Radio Amplifier |
| TURN | Turn Lamps |
| HVAC | HVAC Control Head |
| HAZARD | Hazard Lamps |
| HTD SEATS | Heated Seats |
| RADIO | Radio, Data Link Connector |
| PARK | Park Lamps, Taillamps, Side Marker Lamps, License Lamps |
| BCM/CLUSTER | Body Control Module, Instrument Cluster |
| INT LTS | Body Control Module, OnStar® |
| DR LKS | Door Locks |
| Relays | Usage |
| AFTER BLOW | Not Used |
| HVAC BLOWER | HVAC Control Head |
| PK LP | Parking Lamps |
| DR LCK | All Door Lock Switch |
| PSG DR UNLCK | Passenger Door Unlock Switch |
| DRV DR UNLCK | Driver Door Unlock Switch |
| HDLP | Headlamps |
Underhood Fuse Block
The underhood fuse block is located in the forward part of the engine compartment near the battery.

| Fuses | Usage |
| ECM/TCM | Battery Voltage to ECM, TCM, PCM (3.5L V6 (L66)) |
| BATT FEED | Instrument Panel Fuse Box |
| HORN | Horn |
| * * | Emissions |
| ABS PWR | Anti-lock Brake System Battery |
| REAR DEFOG | Rear Defogger |
| COOL HI (L4)/ COOL 1 (V6) | Cooling Fans High (L4)/Cooling Fan 1 (V6) |
| FOG LP | Fog Lamps |
| LH HDLP | Driver’s Side Headlamp |
| RR WIPER | Rear Wipe |
| ABS | Anti-lock Brake System Module |
| PWR WDW | Power Window Relay and Sunroof |
| CIGAR/AUX2 | Cigarette Lighter |
| HVAC BLOWER | HVAC Blower Motor |
| RH HDLP | Right Headlamp |
| FRT WIPER | Front Wiper |
| ETC | Engine Control Module (ECM), Electronic Throttle Control (V6) |
| SUNROOF | Sunroof Module |
| BRAKE | Stoplamps |
| IGN | Ignition switch |
| IGN/INJ (L4), ECM/ CAM (V6) | Engine Ignition Module, Fuel Injectors (2.2L L4 (L61)) Camshaft Sensor, Main Relay Voltage To PCM, Ignition Coils 1-6 |
| INJECTORS (3.5L V6 (L66) | Fuel Injection |
| PWR TRAIN | Engine Control Module (ECM), Transaxle Control Module (TCM), Transaxle, L66 Powertrain Control Module (PCM) |
| BACKUP | Low Coolant Switch, Backup Lamps (2.2L L4 (L61)), Vehicle Speed Sensor (Manual), Transaxle Range Switch (2.2L L4 (L61)) |
| HTD SEATS | Heated Seats |
| COOL LO (L4)/ COOL 2 (V6) | Cooling Fan Low (L4), Cooling Fan (V6) |
| A/C CLUTCH | Air Conditioning Clutch, Back Up Lamps (3.5L V6 (L66)) |
| FUEL PUMP | Fuel Pump |
| AUX 1 OUTLET | Front Auxiliary Power Outlet |
| PREM AUD | Premium Radio Amplifier |
| ABS | Anti-lock Brake System Ignition |
| PWR SEAT | Power Seats |
| Relays | Usage |
| FOG LP | Fog Lamps |
| COOL FAN HI (L4) | Cooling Fan Motor High |
| ENG MAIN | Engine Control Module/CAM, Emissions, Injectors, Electronic Throttle Control |
| REAR DEFOG | Rear Defog System |
| HORN | Horn |
| DRL | Daytime Running Lamps |
| COOL FAN 1 (V6) | Cooling Fan |
| WIPER SYSTEM | Wiper System |
| PRW WDO | Power Window Switch, Sunroof Module |
| FRT WIPER | Front Wiper System |
| COOL FAN LOW (L4) | Cooling Fan Motor Low |
| A/C CLUTCH | Air Conditioning Clutch |
| BACKUP LAMPS (V6) | Back-up Lamps (V6) |
| FUEL PUMP | Fuel Pump System |
| RR WIPER | Rear Wiper System |
| COOL FAN 2 (V6) | Cooling Fan (V6) |
| Misc. | Usage |
| FUSE PULLER | Fuse Puller |
| Diode | Air Conditioning Diode |
WARNING: Terminal and harness assignments for individual connectors will vary depending on vehicle equipment level, model, and market.
