Porsche Panamera (2010 – 2016) – fuse box diagram
Year of production: 2010, 2011, 2012, 2013, 2014, 2015, 2016
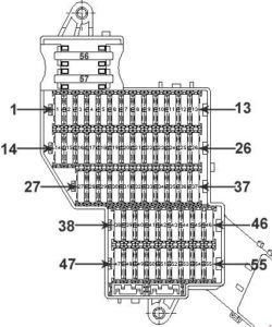
Fuse box on left side of dashboard

| Fuse | Fuse function | Ampere ratting [A] |
| 1 | Steering column switch | 7,5 |
| 2 | Instrument duster | 7,5 |
| 3 | PCM 3.1/CDR 31 | 10 |
| 4 | Additional instrument | 5 |
| 5 | Air conditioning, front + rear | 10 |
| 6 | Rear view camera Surround View (2014-2016) |
5 |
| 7 | HD: Electric parking brake button | 5 |
| 8 | 2010-2013: LHD: Central locking for rear left door RHD: Central locking for left doors |
10 |
| 9 | LHD: Steering column adjustment | 15 |
| 2014-2016: Hybrid: Tiptronic S control unit |
||
| 10 | LHD: PDK control unit | 25 |
| 11 | Power windows, rear left | 25 |
| 12 | Power windows, front left | 25 |
| 13 | 2010-2013: ParkAssist 2014-2016; Hybrid: Pedal sensor |
5 |
| 14 | 2010-2013:Xenon headlight, left | 15 |
| 2014-2016: Xenon/Bi-Xenon/LED headlights, left | ||
| 15 | Interior mirror Diagnostic socket ParkAssist (2014-2016) Front camera (2014-2016) |
5 |
| 16 | LHD: PDK control unit, clutch sensor RHD: Air conditioning, sun sensor |
5 |
| LHD; Hybrid: Transmission control unit, transmission selector lever (2014-2016) | 10 | |
| 17 | Hybrid: Power electronics, spindle actuator | 5 |
| 18 | Hybrid: Power steering | 5 |
| 19 | 2014-2016: PDLS/PDLS PLUS control unit | 5 |
| 20 | LHD: Ignition lock control unit, light switch RHD: TV tuner |
5 |
| 21 | LHD; 2010-2013:Central locking for front left door | 10 |
| LHD; 2014-2016: Central locking for front left door | 25 | |
| RHD: Mobile phone charger | 5 | |
| 22 | Steering column lock | 5 |
| 23 | LHD: Turn signal, rear right Marker light, front left Low beam headlight, right High beam headlight, right Side direction indicators, front Cornering light, front left Ignition lock Two-tone horns PSM Starter relay Emergency flasher switch LED Ignition lock lighting Turn signal, front left/right Footwell lights Ignition lock anti-removal lock Power steering control valves Heatable washer jets |
30 |
| 24 | LHD: Turn signal, rear left Marker light, front right Low beam headlight, left High beam headlight, left Cornering light front right Shutter elements, right/left Active brake ventilation open/closed Heatable washer jets Engine compartment lid Headlight beam adjustment |
30 |
| 25 | LHD: Steering column lock Filler flap closed/open Windshield washer pump, front/rear Servotronic (2014-2016) |
15 |
| 26 | LHD: Headlight cleaning system | 30 |
| 27 | Ignition coils | 15 |
| 28 | 2014-2016: Hybrid: Camshaft controller bank 1, camshaft controller bank 2, resonance flap valve |
15 |
| 2014-2016: GTS: Valve, air cleaner flap |
5 | |
| 29 | Oil level sensor, camshaft sensor | 7,5 |
| 30 | Oxygen sensors behind catalytic converter | 7,5 |
| 31 | Electric control valves for engine | 15 |
| 2014-2016: Hybrid: Relay for secondary air pump 1, relay activator for vacuum pump, tank leakage diagnostic pump |
5 | |
| 32 | Engine control unit | 20 |
| 33 | 2010-2013:Fan activation, tank leakage detection | 10 |
| 2014-2016: Fan actuator | 5 | |
| 34 | Valves for engine | 10 |
| 2014-2016: Hybrid: Valve for flow control, tank vent, cooling water shut-off valve, valve for oil pressure control, valve for secondary air 1, valve for secondary air 2, valve for main water pump, water valve 3 electric machine |
30 | |
| 35 | Oxygen sensors ahead of catalytic converter | 10 |
| 36 | 2014-2016: Not hybrid: Tank leakage detection/cooling water shut-off valve Hybrid: Relay for transmission oil pump |
5 |
| 37 | 2014-2016: Hybrid: Coolant run-on pump, oil level sensor, water pump for high-temperature circuit |
15 |
| 38 | Front cigarette lighter, luggage compartment socket | 20 |
| 39 | Seat adjustment front left without memory | 30 |
| 40 | RHD: Sockets in center console, glove box | 20 |
| 41 | PSM control unit | 10 |
| 42 | Interior light in overhead console | 7,5 |
| 43 | 2014-2016: Adaptive cruise control (ACC) | 5 |
| 44 | 2014-2016: Hybrid: Spindle actuator |
30 |
| 45 | 2014-2016: Hybrid: Power electronics |
5 |
| 46 | 2014-2016: Hybrid: High-voltage battery system |
15 |
| 47 | Slide/tilt roof | 30 |
| 48 | Windshield wipers | 30 |
| 49 | Engine control unit | 5 |
| 50 | 2014-2016: Hybrid: 2/3-way valve, Water pump relay, Air conditioner relay |
7,5 |
| 51 | Seat adjustment front left with memory | 30 |
| 52 | Seat adjustment, rear left | 20 |
| 53 | Circulating pump | 10 |
| 54 | Rain sensor | 5 |
| 55 | 2014-2016: Auxiliary heater | 30 |
| 56 | — | — |
| 57 | Air-conditioning system fan | 40 |
Fuse box in right side of dashboard

| Number | Fused function | Ampere ratting [A] |
| 1 | Tire Pressure Monitoring control unit | 5 |
| 2 | — | — |
| 3 | Seat heating, front | 30 |
| 4 | Seat heating, rear | 30 |
| 5 | Seat adjustment, rear right | 20 |
| 6 | — | — |
| 7 | — | — |
| 8 | Seat adjustment front right with memory | 30 |
| 9 | RHD: Electric parking brake button | 5 |
| 10 | LHD: Handset, mobile phone charger | 5 |
| RHD: Steering column adjustment | 15 | |
| 11 | LHD: TV tuner | 5 |
| RHD: PDK control unit | 25 | |
| 12 | LHD: Telephone | 5 |
| 13 | — | — |
| 14 | 2010-2013:Xenon headlight right | 15 |
| 2014-2016: Xenon/Bi-Xenon/LED headlights, right | 7,5 | |
| 15 | — | — |
| 16 | RHD; 2010-2013:Diagnostic socket 2014-2016: Front camera |
5 |
| 17 | PSM control unit | 5 |
| 18 | LHD: Air conditioning, sun sensor, refrigerant pressure sensor (2014-2016), air quality sensor (2014-2016) RHD: PDK control unit clutch sensor |
5 |
| 2014-2016: RHD; Hybrid: Transmission control unit, transmission selector lever |
10 | |
| 19 | Garage door opener | 10 |
| 20 | Airbag control unit | 7,5 |
| 21 | 2014-2016: Weight detection feature control unit | 5 |
| 22 | Steering column switch | 5 |
| 23 | Adaptive cruise control (ACC) | 5 |
| 24 | Seat ventilation, front seats | 7,5 |
| 25 | Seat ventilation, rear seats | 7,5 |
| 26 | — | — |
| 27 | Center console socket front, cigarette lighter rear | 20 |
| 28 | Seat adjustment front right without memory | 30 |
| 29 | LHD: Socket in center console rear, socket in glove box, socket in large center console rear | 20 |
| 30 | 2014-2016: 110 V socket in large rear center console | 30 |
| 31 | Cool box | 15 |
| 32 | Rear Seat Entertainment | 7,5 |
| 33 | RHD: Turn signal, rear right Marker light, front left Low beam headlight, right High beam headlight, right Side direction indicators, front Cornering light, front left Ignition lock Two-tone horns PSM Starter relay Emergency flasher switch LED Ignition lock lighting Turn signal, front left/right Footwell lights Ignition lock anti-removal lock Power steering control valves Heatable washer jets |
30 |
| 34 | RHD: Turn signal, rear left Marker light, front right Low beam headlight, left High beam headlight, left Cornering light, front right Shutter elements, right/left Active brake ventilation open/closed Heatable washer jets Engine compartment lid Headlight beam adjustment |
30 |
| 35 | RHD: Steering column lock Filler flap closed/open Windshield washer pump, front/rear Servotronic (2014-2016) |
15 |
| 36 | RHD: Headlight cleaning system | 30 |
| 37 | — | — |
| 38 | — | — |
| 39 | PSM control unit | 25 |
| 40 | 2010-2013: LHD: Central locking for front/rear right door |
10 |
| 41 | Power windows, front right | 25 |
| 42 | Power windows, rear right | 25 |
| 43 | Alarm horn | 5 |
| 44 | Vehicle Tracking System VTS | 5 |
| 45 | 2014-2016: Hybrid: High-voltage charger |
5 |
| 46 | — | — |
| 47 | Fuel pump control unit | 25 |
| 48 | Horn (two-tone horns) | 15 |
| 49 | Diagnostic socket | 5 |
| 50 | 2010-2013: RHD: Ignition lock control unit, light switch |
5 |
| 51 | 2010-2013: RHD: Central locking for front right door |
10 |
| 52 | 2010-2013: RHD: Steering column lock |
5 |
| 53 | — | — |
| 54 | — | — |
| 55 | — | — |
| 56 | — | — |
| 57 | 2010-2013: PSM pump control unit | 40 |
Fuse box in trunk

Panamera S E-Hybrid

| Number | Fused function | Ampere ratting [A] |
| Fuse carrier A | ||
| 1 | — | — |
| 2 | 2014-2016: Spoiler flap (Turbo) | 10 |
| 3 | 2010-2013: Audio amplifier (Burmester) | 30 |
| 2010-2013: Audio amplifier (ASK Sound, Bose) | 25 | |
| 4 | Start/Stop control unit | 30 |
| 5 | Start/Stop control unit | 30 |
| 6 | Differential lock | 10 |
| 7 | Differential lock | 30 |
| 2014-2016: Hybrid: Audio amplifier (ASK Sound, Bose) |
25 | |
| 8 | Subwoofer (Bose, Burmester) | 30 |
| 9 | Powerlift tailgate | 25 |
| 10 | PASM control unit | 25 |
| 11 | Luggage compartment lights | 25 |
| 12 | PDCC control unit | 10 |
| Fuse carrier В | ||
| 1 | Daytime driving lights, right Tail light, right Reversing light, right Rear fog light, left Brake light, right Raised brake light Sun blind Electric steering column lock Rear wiper Heated rear window Interior surveillance/inclination sensor PASM Engine control unit Safety/curb lights, front doors Interior light/reading light front Interior light rear Orientation light Licence plate light Engine speed hall senders 1 +3 Interior light |
15 |
| 2 | Daytime driving lights, left Tail light, left Reversing light, left Rear fog light, right Brake light, left Safety/curb lights, rear doors Exhaust flap control Filler flap dosed Extend/retract spoiler |
15 |
| 3 | Tailgate closing mechanism Filler flap open Retract/extend rear spoiler Sun blind |
30 |
| 4 | Alarm horn | 15 |
| 5 | Gateway control unit | 5 |
| 6 | Heated rear window | 20 |
| 7 | PASM control unit | 5 |
| 8 | Gateway control unit | 5 |
| 9 | Electric parking brake | 5 |
| 10 | Differential lock | 10 |
| 11 | PDCC control unit | 10 |
| 2014-2016: Hybrid: High-voltage battery system |
||
| Relay carrier C | ||
| 1 | PASM compressor | 40 |
| 2 | Electric parking brake | 40 |
| 3 | — | — |
| Relay carrier D | ||
| 1 | Heated rear window | — |
| 2 | — | — |
| 3 | Spoiler flap (Turbo) Hybrid: Shut-off valve for chiller relay (heat exchanger) |
— |
| 4 | Spoiler flap (Turbo) | — |
| 5 | PASM compressor | — |
| Fuse carrier E (not hybrid engine) | ||
| — | Standard audio amplifier | 5 |
| — | ASK Sound, Bose® audio amplifier | 25 |
| — | Burmester® audio amplifier | 30 |
WARNING: Terminal and harness assignments for individual connectors will vary depending on vehicle equipment level, model, and market.
