Porsche Cayenne (2011 – 2017) – fuse box diagram
Year of production: 2011, 2012, 2013, 2014, 2015, 2016, 2017
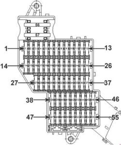
Fuse box on left side of dashboard

| Fuse | Fuse function | Ampere ratting [A] |
| 1 | Seat memory control unit, seat adjustment switch for left seat | 25 |
| 2 | Auxiliary heater control unit | 30 |
| 3 | Relay for two-tone horn | 15 |
| 4 | Front wiper motor | 30 |
| 5 | Motor for sliding/lifting roof, Panorama roof system | 30 |
| 6 | — | — |
| 7 | Steering column adjustment control unit | 15 |
| 8 | Tire Pressure Monitoring control unit, chassis control switch | 5 |
| 9 | Windshield heating, light switch, rain sensor, light sensor | 5 |
| 10 | Motor for roll-up sunblind for Panorama roof system | 30 |
| 11 | — | — |
| 12 | — | — |
| 13 | Subwoofer (Bose/Burmester) | 30 |
| 14 | BCM1 | 30 |
| 15 | Hybrid engine (2015-2017): High-voltage charger | 5 |
| 16 | Central locking control unit/power windows, driver’s door | 30 |
| 17 | Engine compartment lid contact switch, backup horn | 5 |
| 18 | BCM1 | 30 |
| 19 | Engine control unit | 5 |
| 20 | BCM1 | 30 |
| 21 | V8 engine (2011-2014): Circulating pump, air conditioning/parking heater 2011-2017: Residual heat circulating pump relay |
10 |
| 22 | BCM1 | 30 |
| 23 | CAN network gateway/diagnosis, electronic ignition lock, electric steering column lock, light switch | 7,5 |
| 24 | Windshield heating, left | 30 |
| 25 | Windshield heating, right | 30 |
| 26 | Hybrid engine (2011-2014): Battery fan | 15 |
| 27 | Hybrid engine: Battery management system, NT display relay, level control unit | 5 |
| 28 | Hybrid engine: Power electronics | 5 |
| 29 | Hybrid engine: Spindle actuator | 5 |
| 30 | Hybrid engine: Single Power Pack (hydraulic pump), steering | 5 |
| 31 | Hybrid engine (2015-2017): Outside sound, interior sound | 5 |
| 32 | Hybrid engine (2010-2014): Air-conditioning compressor | 15 |
| Hybrid engine (2015-2017): Accelerator module | 5 | |
| 33 | Central locking control unit/power windows, rear left door | 30 |
| 34 | — | — |
| 35 | — | — |
| 36 | Electric parking brake switch | 5 |
| 37 | Hybrid engine (2010-2014): Battery fan | 15 |
| 38 | Hybrid engine: Power electronics, battery fan relay | 5 |
| 39 | Hybrid engine: Spindle actuator | 30 |
| 40 | Hybrid engine (2010-2014): Battery fan relay | 30 |
| Hybrid engine (2015-2017): Service Disconnect | 10 | |
| 41 | Hybrid engine: Battery management system | 10 |
| 42 | Interior mirror | 5 |
| 43 | 2011-2014: Headlights (halogen), range adjustment | 7,5 |
| 2015-2017: Headlight beam adjustment (Xenon), dynamic front lighting control unit | 5 | |
| 44 | 2011-2014: Seat ventilation | 5 |
| 2015-2017: Seat ventilation | 7,5 | |
| 45 | 2013-2017: Vehicle Tracking System control unit, BCM2, Engine control unit | 5 |
| 46 | Lane Change Assist (LCA) | 5 |
| 47 | CAN network gateway/diagnostic socket, garage door opener, ParkAssist, Bluetooth handset charging tray, mobile phone preparation | 5 |
| 48 | Starter relay, clutch sensor (EPB), refrigerant pressure sensor, mass air flow sensor (V6) Hybrid engine (2015-2017): Refrigerant pressure sensor |
10 |
| 49 | ACC radar sensor | 7,5 |
| 50 | — | — |
| 51 | 2017: Front camera control unit | 5 |
| 52 | Rear wiper motor | 15 |
| 53 | Steering column switching module, left tail light | 5 |
| 54 | Xenon headlights, left | 25 |
| 55 | ||
| 56 | Leveling system compressor relay | 40 |
| 57 | Blower regulator for front air conditioning | 40 |
Fuse box in right side of dashboard

| Number | Fused function | Ampere ratting [A] |
| 1 | PDCC control unit | 10 |
| 2 | PASM control unit | 15 |
| 3 | Rear differential lock control unit | 10 |
| 4 | Rear differential lock control unit | 30 |
| 5 | Pivot motor control unit, trailer hitch, brake booster preparation, trailer hitch preparation | 25 |
| 6 | 2011-2012: TV tuner, Rear Seat Entertainment | 10 |
| 2013-2017: Trailer hitch control unit | 15 | |
| 7 | Trailer hitch control unit | 15 |
| 8 | Trailer hitch control unit | 15 |
| 9 | Central locking control unit/power windows, rear right door | 30 |
| 10 | Luggage compartment light | 15 |
| 11 | Central locking control unit/power windows, passenger’s door | 30 |
| 12 | HangOn actuator | 30 |
| 13 | — | — |
| 14 | Airbag control unit, seat occupancy detection | 10 |
| 15 | — | — |
| 16 | PSM control unit, electric parking brake (EPB), PDCC | 5 |
| 17 | Xenon headlights, right | 25 |
| 18 | — | — |
| 19 | Transmission control unit/ transmission prewiring | 5 |
| 20 | 2011-2012: Seat memory control unit, seat adjustment switch for right seat | 20 |
| 2013-2017: Seat memory control unit, right; seat adjustment switch for right seat | 25 | |
| 21 | Seat heating, rear | 25 |
| 22 | Seat heating, front | 25 |
| 23 | Powerlift tailgate control unit | 25 |
| 24 | — | — |
| 25 | 2013-2017: Rear blower regulator | 30 |
| 26 | Heated rear window | 30 |
| 27 | Auxiliary heater radio receiver | 5 |
| 28 | 2011-2012: Transmission control unit (w/o Start/Stop), transmission oil pump | 20 |
| 29 | PSM control unit/PSM valves | 30 |
| 30 | HangOn actuator | 5 |
| 31 | BCM2 | 30 |
| 32 | 2011-2012: Blower regulator for rear air conditioning | 30 |
| Hybrid engine (2015-2017): NT circuit 2/3- way valve, front evaporator shut-off valve relay, water pump relay | 7,5 | |
| 33 | BCM2 | 15 |
| 34 | BCM2 | 15 |
| 35 | Vehicle Tracking System control unit | 5 |
| 36 | BCM2 | 20 |
| 37 | 2013-2017: Transmission control unit, transmission-oil pump | 20 |
| 38 | Cigarette lighter, storage tray socket, socket under glove box | 15 |
| 39 | Rear sockets, socket in luggage compartment | 15 |
| 40 | 2011-2012: Trailer hitch control unit | 15 |
| 2013-2017: Rear Seat Entertainment | 10 | |
| 41 | — | — |
| 42 | Trailer hitch control unit | 5 |
| 43 | Rear differential lock control unit, HangOn actuator | 10 |
| 44 | Air conditioning sun sensor/ air quality sensor, right tail light (2011-2014) | 5 |
| 45 | DC/DC converter (Star/Stop) | 30 |
| 46 | DC/DC converter (Star/Stop) | 30 |
| 47 | MIB central computer | 20 |
| 48 | — | — |
| 49 | — | — |
| 50 | Front air conditioning, rear air conditioning control panel | 10 |
| 51 | 2011-2016: PCM 3.1, radio, navigation system (Japan) | 10 |
| 2017: Control unit display | 5 | |
| 2017; Japan: Control unit display, USB hub, DRSC card reader | 10 | |
| 52 | 2011-2014: Instrument cluster 2015-2017: Multi-function display |
5 |
| 53 | Steering column switching module/ heated steering wheel, rear view camera control unit, compass display, Bose amplifier (Japan), Surround View control unit | 10 |
| 54 | 2011-2012: Roof console | 10 |
| 2013-2017: Overhead console | 7,5 | |
| 55 | 2015-2017: ACC stabilisation relay | 7,5 |
| 56 | 2011-2014: PSM control unit/PSM pump | 40 |
| 57 | 2011-2014: EPB control unit | 40 |
Engine Compartment Fuse Box

| Number | Fused function | Ampere ratting [A] |
| 1 | V6/V8 engine: Starter relay | 40 |
| 2 | Diesel (2017): Power switch | 30 |
| 3 | V6/V8 engine (2011-2012): SLP relay 2013-2017: Secondary air pump (Cayenne S, S E-Hybrid, GTS, Turbo, Turbo S) |
40 |
| 4 | Hybrid engine: Vacuum pump relay | 30 |
| 5 | — | — |
| 6 | — | — |
| 7 | V8 engine: Rod ignition coil Diesel: High-pressure control valve, high-pressure pump |
15 |
| V6 engine: Rod ignition coils | 20 | |
| 8 | V8 engine: Tank vent valve, boost pressure valve, diverter valve, intake pipe switchover valve, crankcase de-icer | 15 |
| V6 engine: Tank vent valve, electropneumatic converter, crankcase de-icer, diverter valve, secondary air pump relay, sound symposer Hybrid engine: Water pump charge-air cooler |
10 | |
| 9 | V8 engine: Engine control unit, flow control valve | 20 |
| V6/Hybrid engine: Engine control unit | 30 | |
| 10 | Cayenne Turbo, Turbo S: Tank leakage diagnosis, secondary air pump relay, electr. exhaust flaps, Hall sensor, oil level sensor Cayenne: Tank leakage diagnosis, mass air flow sensor Cayenne S, GTS: Tank leakage diagnosis, electr. exhaust flaps Diesel: Glow plug control unit, switching valve for EGR cooling, control valve for regulated oil pump, map thermostat, engine mounting, pressure converter Hybrid engine: Vacuum pump, secondary air pump relay, tank leakage diagnosis pump All engines: Radiator fan control unit, brake pedal sensor, radiator shutter |
10 |
| 11 | Cayenne Turbo, Turbo S: Valve lift adjuster, camshaft controller, map thermostat | 15 |
| Cayenne: Heater for positive crankcase ventilation, temperature/oil level sensor Cayenne S, GTS: Map thermostat, camshaft controller, valve lift adjuster Hybrid engine: Temperature/oil level sensor |
10 | |
| Diesel: Oil level sensor | 5 | |
| 12 | V6 engine: Intake pipe switching valve, tank vent valve, valve for water pump with ON/OFF control, cooling water switching valve, camshaft adjustment, charge motion flap | 10 |
| 13 | Fuel pump control unit (ECKSM) | 25 |
| 14 | V6 engine: Camshaft control, flow control valve/high-pressure fuel pump | 10 |
| Hybrid engine: Control valve-regulated oil pump, flow control valve for high-pressure pump, tank vent valve, secondary air valve, main water pump valve, E-machine bypass valve Diesel: SCR supply module, tank evaluation electronics |
15 | |
| Cayenne S, GTS: Camshaft sensor, oil level sensor | 7,5 | |
| 15 | All engines: Main relay Hybrid engine: Engine control unit |
10 |
| 16 | V6 engine: Electric water pump | 10 |
| Diesel: Power switch | 30 | |
| 17 | Cayenne, S E-Hybrid, Turbo, Turbo S: Oxygen sensor upstream of catalytic converter Diesel: Oxygen sensor, Nox sensor upstream of catalytic converter, Nox sensor downstream of catalytic converter, particle sensor |
15 |
| Cayenne S, GTS: Oxygen sensor upstream of catalytic converter | 10 | |
| 18 | Oxygen sensor downstream of catalytic converter | 10 |
WARNING: Terminal and harness assignments for individual connectors will vary depending on vehicle equipment level, model, and market.
