Ford F-Series F-super duty (1996) – fuse box diagram
Year of production: 1996
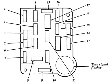
Fuse box (fuses and their location)

| Fuse/CB | Ampere rating [A] | Description |
| 1 | 30 | Heater/air conditioner blower |
| 2 | 30 | Wiper/washer |
| 3 | 3 | Idle position switch (diesel) |
| 4 | 15 | Exterior lamps, instrument illumination, trailer exterior lamp relay, warning buzzer/chime module |
| 5 | 10 | Air bag restraint |
| 6 | 15 | Air conditioner clutch, diesel auziliary fuel selector, remote keyless entry |
| 7 | 15 | Turn lamps |
| 8 | 15 | Courtresy/dome/cargo lamps, electric outside mirrors, keyless entry, speedometer, sun visior mirror illumination, warning buzzer/chime module |
| 9 | 25 | Power point |
| 10 | 4 | Instrument illumination |
| 11 | 15 | Radio, radio display dimmer |
| 12 | 20 CB | Electronic shift motor 4-wheel drive, power door locks, power door seat, power lumba |
| 13 | 15 | Anti-lock brakers, brake shift interlock, electronic engine control, speed control, atop/hazard lamps, stop sense for electronic engone control |
| 14 | 20 CB | Power windows |
| 15 | 20 | Anti-lock brakers |
| 16 | 15 | Cigarette lighter, generic scan tool |
| 17 | 10 | Diesel indicators, electronic transmission, gauges, tachometer, warning buzzer/chime module, warning indicators |
| 18 | 10 | Air bag restraint, autmatic day/night mirror, brake sgift interlock, electronic shift modulem electronic shift module 4-wheel drive, speedometer, selectable RPM control (diesel), speed control (diesel) |
| Circuit protected | Size | Location |
| Headlamos & high beam indicator | 22 A CB | Integral with headllamps switch |
| Windshield wiper and washer pump | 30 A CB | Fuse panel |
| Electric brakes (trailer) | 30 maxi fuse | Power distribution box |
| Trailer lamps (relay feed) | 25 fuse | Power distribution box |
| Alternator – 95A | 12 Ga. fuse link | At starting motor relay (gasoline engine) |
| Alternator – 130A | (2) 12 Ga. fuse link | At starting motor relay (diesel engine) |
| Powertrain control module | 20A maxi fuse | Power distribution box |
| Fuel pump | 40A maxi fuse | Power distribution box |
| Headlamp switch | 40A maxi fuse | Power distribution box |
| Diesel glowe plugs | (2) 14 Ga. fuse links | At starting motor relay |
| Power windows | 20A CB | Fuel panel |
| Power door locks | 20A CB | Fuel panel |
| Hazard flasher | 15A fuse | Fuse panel |
| Trailer battery recharge feed | 30A maxi fuse | Power distribution box |
Power distribution box

| Fuse/CB/Relay | Ampere rating [A] | Description |
| 1 | 20 | Audio power |
| 2 | 15 | Fog lamps, 200A alternator (Diesel ambulance only) |
| 3 | 30 | Daytime running lamps (Canada only), headlamps flash-to-pass, horn |
| 4 | 25 | Trailer back-up lamps, trailer running lamps |
| 5 | 15 | Back-up lamps, daytime running lamps module (DRL) (Canada only). oxygen sensor heater, trailer battery charge relay |
| 6 | 10 | Trailer right-hand stop/turn lamp |
| 7 | 10 | Trailer left-hand stop/turn lamp |
| 8 | 30 maxi | Injector driver module |
| 9 | 30 (gas) | Powertrain control system |
| 20 (diesel) | ||
| 10 | 20 maxi | Intrument panel fuse: 15,18, starter relay coil |
| 11 | — | |
| 12 | Diode | Powertrain control system relay coil |
| 13 | 50 maxi | Instrument panel fuse: 5,9,13 |
| 14 | — | Not used |
| 15 | 50 maxi | Instrument panel fuse:1,7; power distribution box fuse: 5 |
| 16 | 20 maxi | Fuel pump feed (gas engine) |
| 17 | 50 maxi | Alternator charge lamp, idle position switch (diesel), instrument panel fuses: 2,6,11,14,17; power distribution box: fuse 22 |
| 18 | 30 maxi | Trailer battery charge |
| 19 | 40 maxi | Headlamps |
| 20 | 50 maxi | Instrument panel fuses: 4,8,12,16 |
| 21 | 30 maxi | Trailer brake feed |
| 22 | 20 maxi | Distributor puckup (gas engine), fuel line heater (diesel), glow plug heater (diesel), glow plug controller (diesel), ignition coil (gas engine), powertrain control system relay coil, thick film integrated (TFI) module (gas engine) |
| Relay #1 | Powertrain control module | |
| Relay #2 | Fuel pump (gas engine), injector driver module (IDM relay)(diesel) | |
| Relay #3 | Horn | |
| Relat #4 | Trailer tow lamps | |
WARNING: Terminal and harness assignments for individual connectors will vary depending on vehicle equipment level, model, and market.
