Ford Mustang (1969 – 1970) – fuse box diagram
Year of production: 1969, 1970
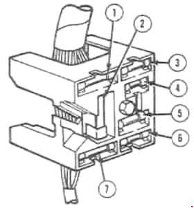
Fuse box
| Fuse | Ampere Rating [A] | Description |
| 1 | 15 | Turn Signals, Back-Up Lamps, Windshield Washer, Radio, Stereo Tape Player Feed |
| 2 | 20 | Accessory Feed Seat Belt Warning, Parking Brake Warning, Rear Window Defogger (Hardtop) |
| 3 | 14 | Heater & Defroster |
| 30 | Air Conditioning | |
| 4 | 14 | Emission Control, Carburetor Solenoid |
| 5 | 4 | Instrument & Cluster Lamps, Radio, Heater and A/C Controls, Clock, Ash Tray Lamp |
| 6 | 14 | Courtesy, Instrument, Door, Dome, Map, Glove Box, “C” Pillar, Ignition Key Warning Buzzer, Clock Feed, Luggage Compartment Lamp, Headlamp “on” Reminder Buzzer, Cigar Lighter |
| 7 | 20 | Emergency Warning, Horn |
WARNING: Terminal and harness assignments for individual connectors will vary depending on vehicle equipment level, model, and market.

