Acura TL (2010) – wiring diagrams – fuse panel
Year of productions: 2010
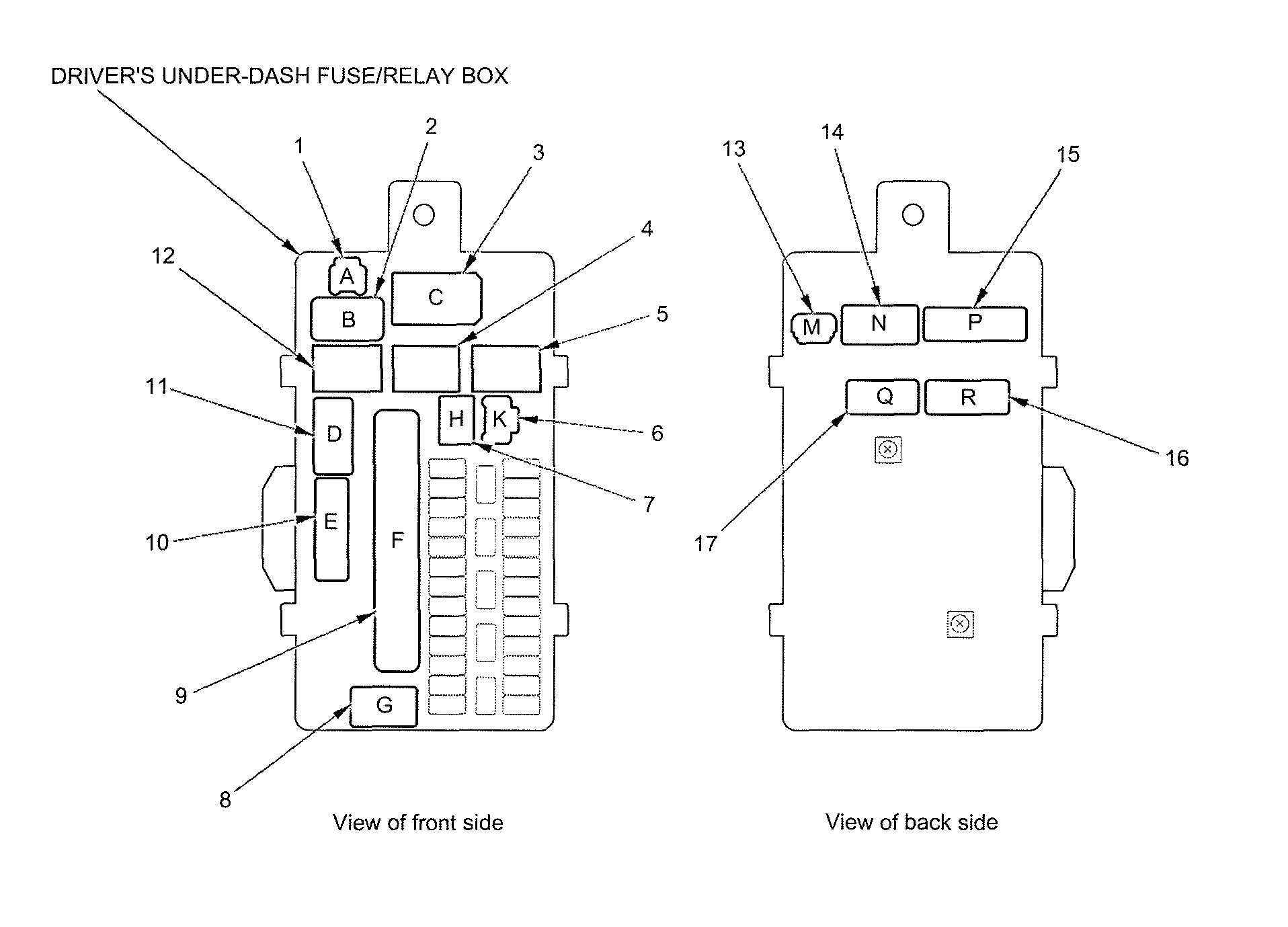
Fuse panel
Version 1

Version 2



WARNING: Terminal and harness assignments for individual connectors will vary depending on vehicle equipment level, model, and market.
Year of productions: 2010




WARNING: Terminal and harness assignments for individual connectors will vary depending on vehicle equipment level, model, and market.
Copyright © 2026 | MH Magazine WordPress Theme by MH Themes