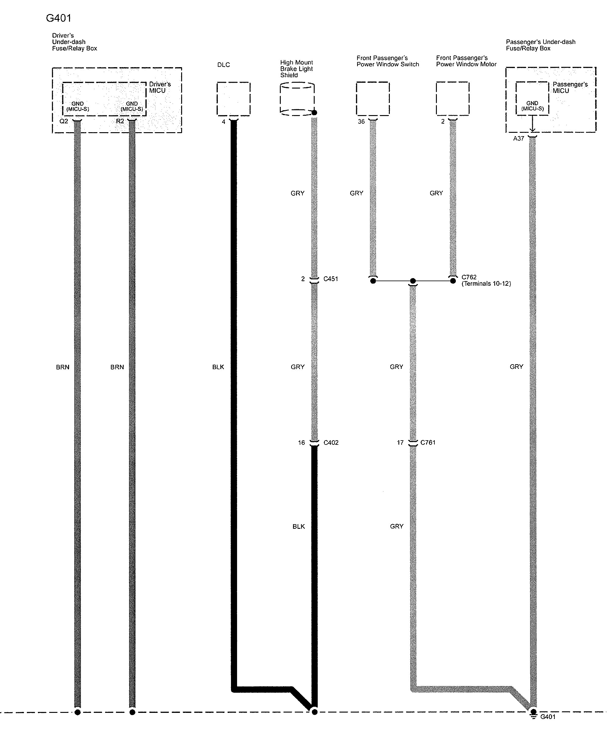
Acura TL (2009 – 2010) – wiring diagrams – ground distribution
Year of productions: 2009, 2010
Ground distribution





























WARNING: Terminal and harness assignments for individual connectors will vary depending on vehicle equipment level, model, and market.
Year of productions: 2009, 2010





























WARNING: Terminal and harness assignments for individual connectors will vary depending on vehicle equipment level, model, and market.
Copyright © 2025 | MH Magazine WordPress Theme by MH Themes