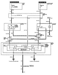
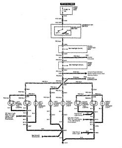
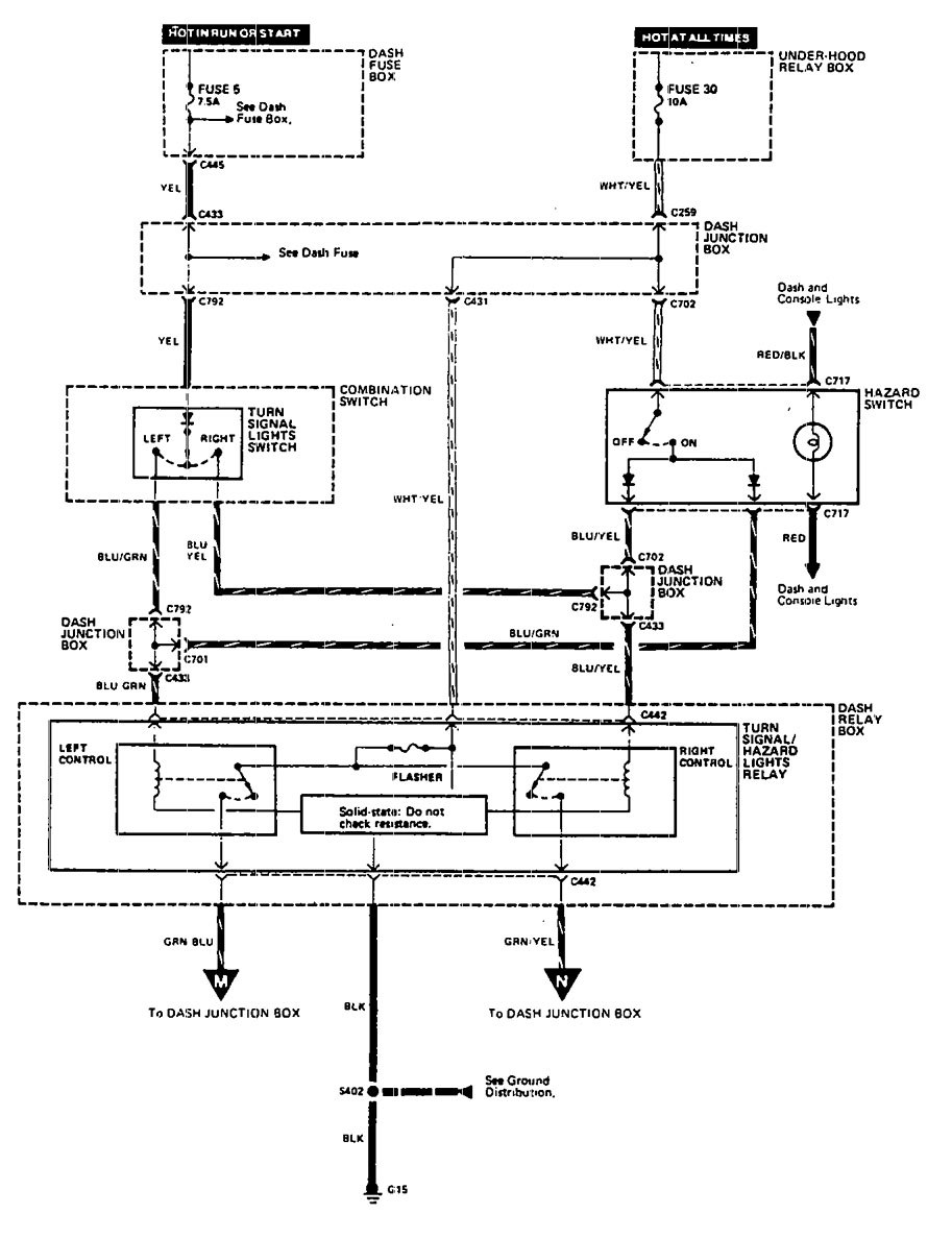
Acura Legend (1990) – wiring diagram – side marker lamp
Year of productions: 1990
Side marker lamp
Version 1

Version 2


Version 3

WARNING: Terminal and harness assignments for individual connectors will vary depending on vehicle equipment level, model, and market.
