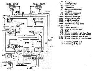
Volvo 940 (1992) – wiring diagrams – headlamps
Year of productions: 1991
Headlamps

WARNING: Terminal and harness assignments for individual connectors will vary depending on vehicle equipment level, model, and market.
Copyright © 2025 | MH Magazine WordPress Theme by MH Themes