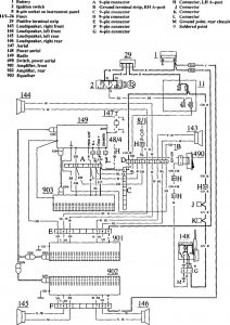
Volvo C70 (1999) – wiring diagrams – transmission controls Year of productions: 1999 Transmission controls WARNING: Terminal and harness assignments for individual connectors will vary depending on vehicle equipment level, model, and market.
Acura Integra (1998 – 1999) – wiring diagrams – clock Year of productions: 1998, 1999 Clock WARNING: Terminal and harness assignments for individual connectors will vary depending on vehicle equipment level, model, and market.
Acura RL (2000 – 2002) – wiring diagrams – instrumentation Year of productions: 2000, 2001, 2002 Instrumentation WARNING: Terminal and harness assignments for individual connectors will vary depending on vehicle equipment level, model, and market.