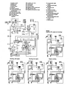
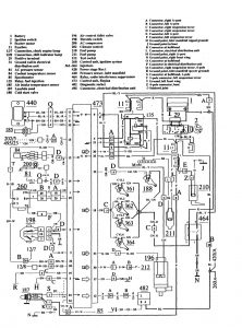
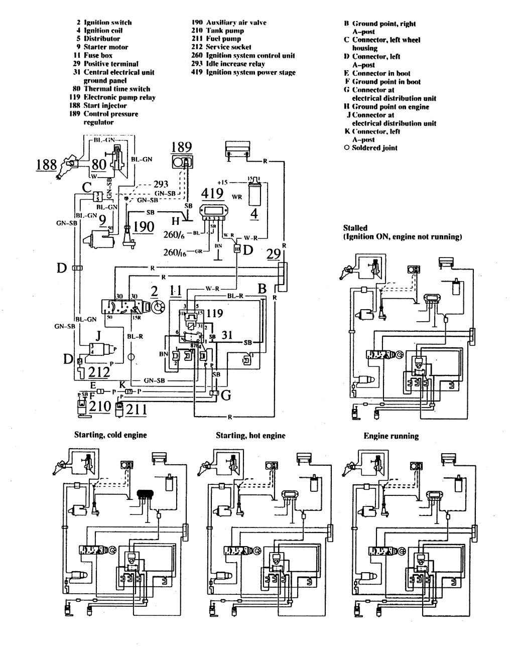
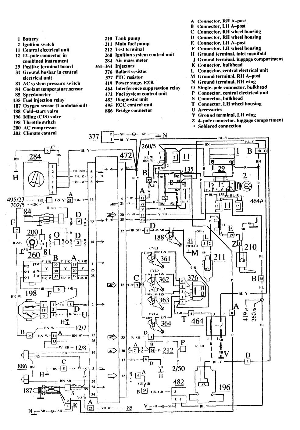
Volvo 740 (1990) – wiring diagrams – fuel controls
Year of productions: 1990
Fuel controls
Version 1

Version 2

Version 3

Version 4

Version 5

WARNING: Terminal and harness assignments for individual connectors will vary depending on vehicle equipment level, model, and market.
