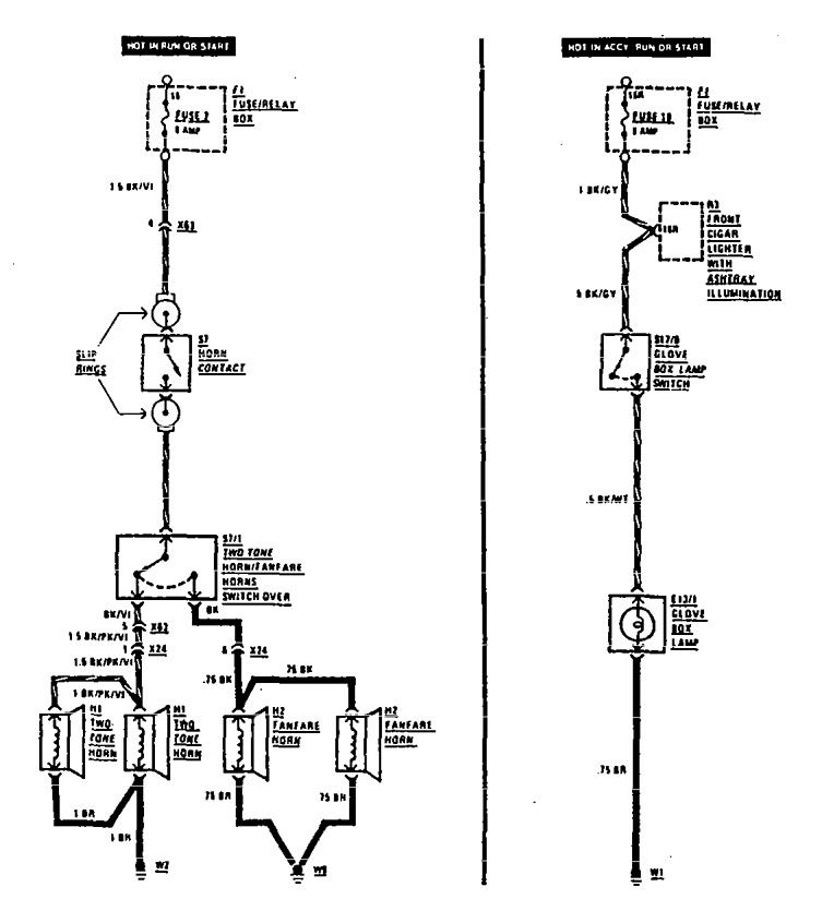
Mercedes-Benz 420SEL (1990 – 1991) – wiring diagrams – glove compartment lamp

Mercedes-Benz 420SEL (1990 – 1991) – wiring diagrams – glove compartment lamp

Year of productions:  1990, 1991

Glove compartment lamp

Mercedes-Benz 300SE - wiring diagram - glove compartment lamp
Mercedes-Benz 420SEL – wiring diagram – glove compartment lamp

WARNING: Terminal and harness assignments for individual connectors will vary depending on vehicle equipment level, model, and market.