Ford F-150 (1992 – 1997) – fuse box diagram

Ford F-150 (1992 – 1997) – fuse box diagram

Year of production: 1992, 1993, 1993, 1994, 1995, 1996, 1997

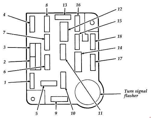
Passenger Compartment Fuse Panel

Ford F-150 - fuse box diagram - passenger compartment
Ford F-150 – fuse box diagram – passenger compartment
A Description
1 30 Heater/Air conditioner blower
2 30 Wiper/Washer
8.25 Circuit breaker: Interval Wiper/Washer
3 Not used
4 15 Exterior Lamps, Trailer Marker Lamps Relay, Warning Chime, Instrument illumination, Keyless Entry
5 10 Airbag restraint
6 15 Fuel Tank Selector (Diesel Only), Air Conditioner/Heater, Remote/Keyless Entry
7 15 Turn Lamps, (Bronco)
8 15 Courtesy Lamps. Engine Compartment Lamp, Radio Memory, Power Mirrors, Clock Memory, Speedometer Memory, Warning Chime, Sun Visor Mirror Illumination, Keyless Entry
9 15 Power point
25 Power point
10 4 Instrument illumination
11 15 Radio, Radio Display Dimmer
12 20 Circuit breaker: Electronic Shift Motor 4-wheel, Power Door Locks, Tailgate Power Window (Bronco)
30 Circuit breaker: Power Door Lock, Power Tailgate Window (Bronco), Electronic Shift Control, Power Lumbar
13 15 Stop and Hazard Lamps, Stop Sense For: Anti-lock Brakes, Speed Control, Electronic Engine Control, Brake Shift Interlock, Anti-Lock Brakes
14 20 Circuit breaker: Power Windows, Tailgate Power Window: Instrument Panel Switch
15 20 Anti-Lock Brakes
16 15 Cigarette Lighter
17 10 Overdrive Switch. Stop Lamp Switch, Warning Chime, Diesel Warning Lamps Display, Fuel Water Switch, Low Vacuum Warning Switch, Instrument Cluster, Electronic Shift Control, Tachometer, Gauges, Electronic Transmission
18 10 Air Bag Restraint, Automatic Day/Night Mirror, Brake Shift Interlock, Electronic Shift Module 4-wheel Drive, Overhead Console, Speedometer, Speed Control. Electronic Shift Control

Engine compartment fuse box

Ford F-150 - fuse box diagram - engine compartment
Ford F-150 – fuse box diagram – engine compartment
A Description
A 20 Radio
B 30 Bronco: 4 WABS Relay #1
15 Fog Lamp Relay
C 30 Horn Relay, Daytime Running Lamps, Headlamp Flash-to-Pass, Speed Control
D 25 Trailer Marker Lamps Relay, Trailer Backup Lamps Relay
E 15 Heated Oxygen Sensor (H02s), Backup Lamps, 4WABS (Bronco Only), Trailer Battery Charge Relay, Daytime Running Lamps, Speed control
F 10 Trailer Right Stop/Turn Lamps
G 10 Trailer Left Stop/Turn Lamps
H 30 Bronco: 4 WABS Relay #2
I 20 PCM Power Relay (Fuel Pump Relay Coil), Powertrain Control Module (PCM)
J 20 Instrument panel fuses: 15, 18, Starter Relay
K Not used
L 50 Instrument panel fuses: 5, 9, 13
M 30 Bronco: Rear window defroster
N 50 Instrument panel fuses: 1, 7; Power network box: fuse E
O 20 Fuel pump feed
P 50 Alternator charge lamp, Instrument panel fuses: 2, 6, 11, 14, 17; Power network box: fuse U
Q 30 Trailer battery charge
R 40 Main Light Switch, Headlamps
S 50 Instrument panel fuses: 4, 8, 12,16
T 30 Trailer Electronic Brake Control Unit
U 20 Distributor pickup, Ignition coil, Powertrain control system relay coil, Thick film integrated (TFI) module

Trailer relay box

Ford F-150 - fuse box diagram - trailer relay box
Ford F-150 – fuse box diagram – trailer relay box

Additional Fuses

Circuit Protected Size Location
Headlamps & High Beam Indicator 22 Amp Circ. Brkr. Integral with Headlamp Switch
Alternator, 95 Amp 12 Ga. Fuse Link At Starting Motor Relay (Gasoline Engine)
Alternator, 130 Amp (2) 12 Ga. Fuse Links At Starting Motor Relay (Diesel Engine)
Diesel Glow Plugs (2) 14 Ga. Fuse Links At Starting Motor Relay

WARNING: Terminal and harness assignments for individual connectors will vary depending on vehicle equipment level, model, and market.