Ford Bronco (1992 – 1996) – fuse box diagram
Year of production: 1992, 1993, 1994, 1995, 1996
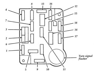
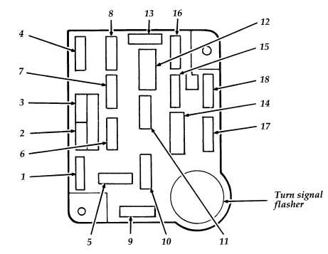
Fuse panel

| Fuse/CB | Ampere rating [A] | Desciption |
| 1 | 30 | Heater/air conditioner blower |
| 2 | 30 | Wiper/washer |
| 3 | — | Not used |
| 4 | 15 | Exterior lamps, instrument illumination, keyless entry, warning buzzer/chime module |
| 5 | 10 | Air bag restraint |
| 6 | 15 | Air conditioner clutch, remote/keyless entry |
| 7 | 15 | Rear window defrost, turn lamps |
| 8 | 15 | Courtesy/lamps, electric outside mirrors, engine compartment lamp, keyless entery, speedometer, sun visior mirror illumination, warning buzzer/chime module |
| 9 | 25 | Power point |
| 10 | 4 | Instrument illumination |
| 11 | 15 | Radio, radio display dimmer |
| 12 | 20 Circuit breaker | Electronic shift motor 4-wheel drive, power door locks, power lumbar, tailgate power window |
| 13 | 15 | Anti-lock brakers, brake shift interlock, speed control, stop/hazard lamps, stop sense for electronic engine control |
| 14 | 20 Circuit breaker | Power window, tailgate power window: instrument panel switch |
| 15 | — | Not used |
| 16 | 15 | Cigarette lighter |
| 17 | 10 | Electronic transmission, gauges, tachometer, warning buzzer/chime module, warning indicators |
| 18 | 10 | Air bag restraint, automatic day/night mirror, brake shift interlock, electronic shift module 4-wheel drive, overhead console, speedometer |
Power distribution box

| Fuse/CB/relay | Ampere rating [A] | Description |
| 1 | 20 | Audio power |
| 2 | 30 | Anit-lock brakes |
| 3 | 30 | Headlamps flash-t0-pass, daytime running lamps (Canada only), horn, speed control |
| 4 | 25 | Trailer back-up lamps, trailer running lamps |
| 5 | 15 | Anit-lock brakes, back-up lamps, daytime running lamp module (DRL) (Canada only), speed control, trailer battery charge relay |
| 6 | 10 | Trailer right-hand stop/turn lamp |
| 7 | 10 | Trailer left-hand stop/turn lamp |
| 8 | 30 maxi | Anti-lock brakes |
| 9 | 20 maxi | Fuel pump relay coil, powertrain control system |
| 10 | 20 maxi | Instrument panel fuses (15,18), starter relay coil |
| 11 | — | Not used |
| 12 | Diode | Powertrain control system raly |
| 13 | 50 maxi | Instrument panel fuses (5,9,13) |
| 14 | 30 maxi | Rear window defroster |
| 15 | 50 maxi | Instrument panel fuses (1,7), power netword box: fuse 5 |
| 16 | 20 maxi | Fuel pump feed |
| 17 | 50 maxi | Alternator charge lamp, instrument panel fuses (2,6,11,14,17), power network box: fuse 22 |
| 18 | 30 maxi | Trailer battery charge |
| 19 | 40 maxi | Headlamps |
| 20 | 50 maxi | Instrument panel fuses (4,8,12,16) |
| 21 | 30 maxi | trailer brake feed |
| 22 | 20 maxi | Distributor pickup, ignition coil, powertrain control system relay coil, thick film integrated (TFI) module |
| Relay 1 | Powertrain control system | |
| Relay 2 | Fuel pump | |
| Relay 3 | Horn | |
| Relay 4 | trailer tow running lamps | |
| relay 5 | Anti-lock brake system (ABS) pump motor |
WARNING: Terminal and harness assignments for individual connectors will vary depending on vehicle equipment level, model, and market.
