Year of production: 2004
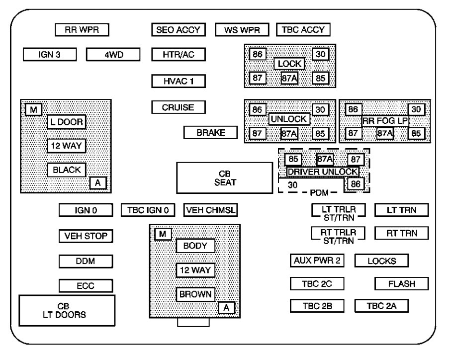
Instrument panel fuse block
The fuse block access door is on the driver’s side edge of the instrument panel.
| Fuses | Usage |
| RR Wiper | Rear Window Wiper Switch |
| SEO ACCY | Special Equipment Option Accessory |
| WS WPR | Windshield Wipers |
| TBC ACCY | Truck Body Controller Accessory |
| IGN 3 | Ignition, Heated Seats |
| 4WD | Four-wheel Drive System, Auxiliary Battery |
| HTR A/C | Climate Control System |
| LOCK | Power Door Lock Relay (Lock Function) |
| HVAC 1 | Inside Rearview Mirror, Climate Control System |
| L DOOR | Driver’s Door Harness Connection |
| CRUISE | CRUISE Control |
| UNLOCK | Power Door Lock Relay (Unlock Function) |
| RR FOG LP | Rear Fog Lamp (Export Only) |
| BRAKE | Anti-Lock Brake System |
| DRIVER UNLOCK | Power Door Lock Relay (Drive’s Door Unlock Function) |
| IGN 0 | PCM, TCM |
| TBC IGN 0 | Truck Body Controller |
| VEH CHMSL | Vehicle and Trailer High Mounted Stoplamp |
| LT TRLR ST/TRN | Left Turn Signal/Stop Trailer |
| LT TRN | Left Turn Signals and Sidemarkers |
| VEH STOP | Vehicle Stoplamps, Brake Module, Electronic Throttle Control Module |
| RT TRLR ST/TRN | Right Turn Signal/Stop Trailer |
| RT TRN | Right Turn Signals and Sidemarkers |
| BODY | Harmess Connector |
| DDM | Driver Door Module |
| AUX PWR 2 | Rear Cargo Area Power Outlet |
| LOCKS | Power Door Lock System |
| TBC 2C | Truck Body Controller |
| FLASH | Flasher Module |
| CB LT DOORS | Left Power Window Circuit Breaker |
| TBC 2B | Truck Body Controller |
| TBC 2A | Truck Body Controller |
Center Instrument Panel Utility Block
| Device | Usage |
| SEO | Special Equipment Option |
| TRAILER | Trailer Brake Wiring |
| UPFIT | Upfitter (Not Used) |
| SL RIDE | Ride Control Harness Connection |
| HDLR 2 | Headliner Wiring Connector |
| BODY | Body Wiring Connector |
| HDLNR 1 | Headliner Wiring Connector 1 |
| SPARE RELAY | Not Used |
| CB SEAT | Driver and Passenger Seat Module Circuit Breaker |
| CB RT DOOR | Right Power Window Circuit Breaker |
| SPARE | Not Used |
| INFO | Infotainment Harness Connection |
Underhood Electrical Center
The underhood electrical center is located on the driver’s side of the engine compartment near the battery.
*1 – Gasoline Engine and Fuel Injection Rail #2
*2 – Gasoline Engine and Fuel Injection Rail #1
*3 – Gasoline Engine; Oxygen Sensor
*4 – Gasoline Engine; Oxygen Sensor
*5 – PCM Ignition
| Fuses | Usage |
| GLOW PLUG | Not Used |
| CUST FEED | Gasoline Accessow Power |
| STUD #1 | Auxiliary Power (Single Battery and Diesels Only)/Dual Battery (TP2) Do not install fuse. |
| MBEC | Mid Bussed Electrical Center Power Feed, Front Seats, Right Doors |
| BLOWER | Front Climate Control Fan |
| LBEC | Left Bussed Electrical Center, Door Modules, Door Locks, Auxiliary Power Outlet-Rear Cargo Area and Instrument Panel |
| STUD 2 | Accessory Power/Trailer Wiring Brake Feed |
| ABS | Anti-Lock Brakes |
| VSES/ECAS | Vehicle Stability |
| IGN A | lqnition Power |
| IGN B | lqnition Power |
| LBEC 1 | Left Bussed Electrical Center, Left Door, Truck Body Controller, Flasher Module |
| TRL PARK | Parking Lamps, Trailer Wiring |
| RR PARK | Right Rear Parking and Sidemarker Lamps |
| LR PARK | Left Rear Parking and Sidemarker Lamps |
| PARK LP | Parking Lamps Relay |
| STARTER | Starter Relay |
| INTPARK | Interior Lamps |
| STOP LP | Stoplamps |
| TBC BATT | Truck Body Controller Battery Feed |
| SUNROOF | Sunroof |
| SEO B2 | Off-Road Lamps |
| 4WS | Vent Solenoid Canister/QUADRASTEER Module Power |
| RR HVAC | Rear Climate Control |
| AUX HVAC | Auxiliary Power Outlet – Console |
| IGN 1 | Ignition Relay |
| PCM 1 | Powertrain Control Module |
| ETC/ECM | Electronic Throttle Control, Electronic Brake Controller |
| IGN E | Instrument Panel Cluster, Air Conditioning Relay, Turn Signal/Hazard Switch, Starter Relay |
| RTD | Ride Control |
| TRL B/U | Backup Lamps Trailer Wiring |
| PCM B | Powertrain Control Module, Fuel Pump |
| F/PMP | Fuel Pump (Relay) |
| B/U LP | Back-up Lamps, Automatic Transmission Shift Lock Control System |
| RR DEFOG | Rear Window Defogger |
| HDLP-HI | Headlamp Hiqh Beam Relay |
| PRIME | Not Used |
| SIR | Supplemental Inflatable Restraint System |
| FRT PARK | Front Parking Lamps, Sidemarker Lamps |
| DRL | Daytime Running Lamps (Relay) |
| SEO IGN | Rear Defog Relay |
| TBC IGN1 | Truck Body Controller Ignition |
| HI HDLP-LT | High Beam Headlamp-Left |
| LH HID | Not Used |
| DRL | Daytime Running Lamps |
| IPC/DIC | Instrument Panel CIuster/Driver Information Center |
| HVAC/ECAS | Climate Control Controller |
| CIG LTR | Cigarette Lighter |
| HI HDLP-RT | High Beam Headlamp-Right |
| HDLP-LOW | Headlamp Low Beam Relay |
| A/C COMP | Air conditioning Compressor |
| A/C COMP | Air conditioning Compressor Relay |
| RR WPR | Rear Wiper/Washer |
| RADIO | Audio System |
| SEO B1 | Mid Bussed Electrical Center, HomeLink, Rear Heated Seats |
| LO HDLP-LT | Headlamp Low Beam-Left |
| BTSI | Brake Transmission Shift Interlock System |
| CRANK | Starting System |
| LO HDLP-RT | Headlamp Low Beam-Right |
| FOG LP | Fog lamp Relay |
| FOG LP | Fog Lamp |
| HORN | Horn Fuse |
| HORN | Horn Relay |
| W/S WASH | Windshield and Rear Window Washer Pump Relay |
| W/S WASH | Windshield and Rear Window Washer Pump |
| INFO | OnStar/Rear Seat Entertainment |
| RADIO AMP | Radio Amplifier |
| RH HID | Not Used |
| HORN | Horn |
| EAP | Electric Adjustable Pedals |
| TREC | All-Wheel Drive Module |
| SBA | Supplemental Brake Assist |



