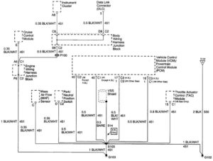
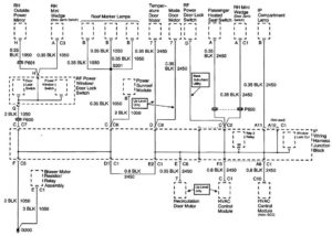
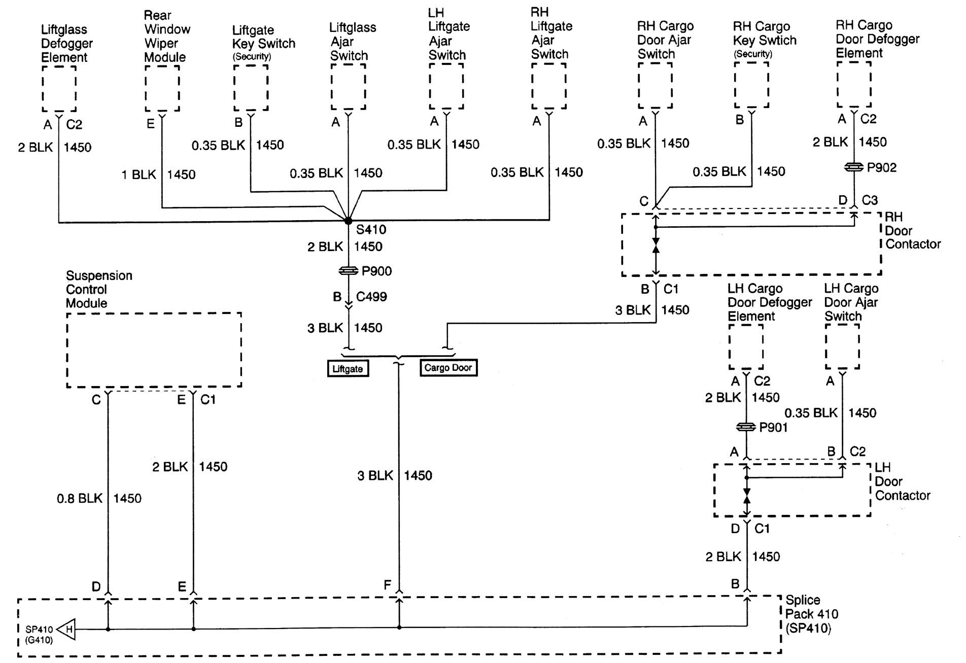
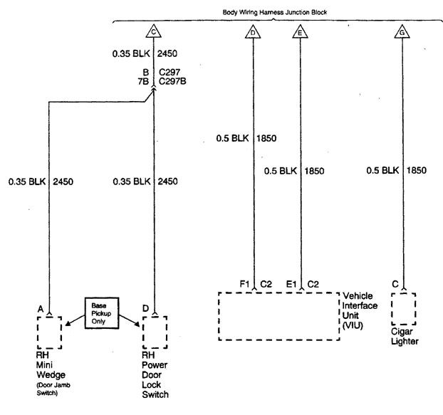
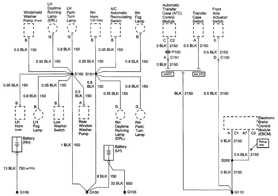
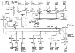
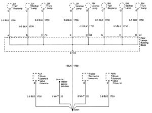
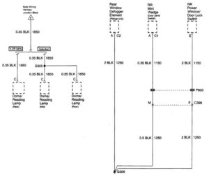
Cadillac Escalade (2000) – wiring diagrams – ground distribution
Year of productions: 2000
Ground distribution
Cadillac Escalade – wiring diagrams – ground distribution (part 1)
Cadillac Escalade – wiring diagrams – ground distribution (part 2)
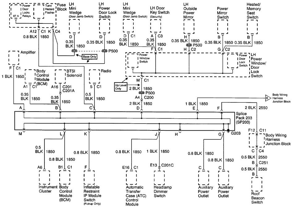
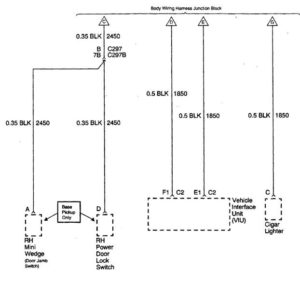
WARNING: Terminal and harness assignments for individual connectors will vary depending on vehicle equipment level, model, and market.
