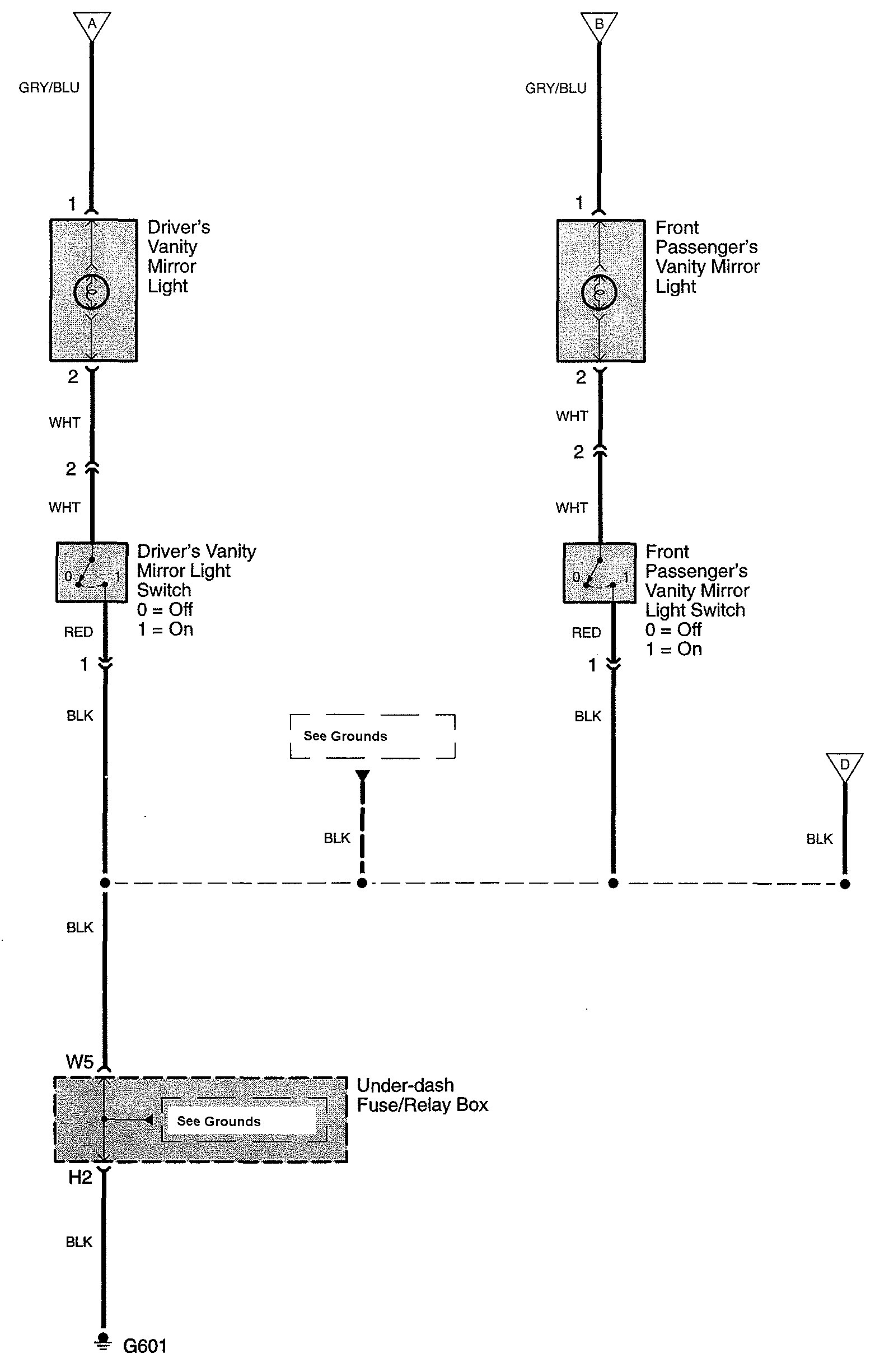
Acura TL (2008) – wiring diagrams – vanity mirror lamp
Year of productions: 2008
Vanity mirror lamp

WARNING: Terminal and harness assignments for individual connectors will vary depending on vehicle equipment level, model, and market.
Copyright © 2025 | MH Magazine WordPress Theme by MH Themes