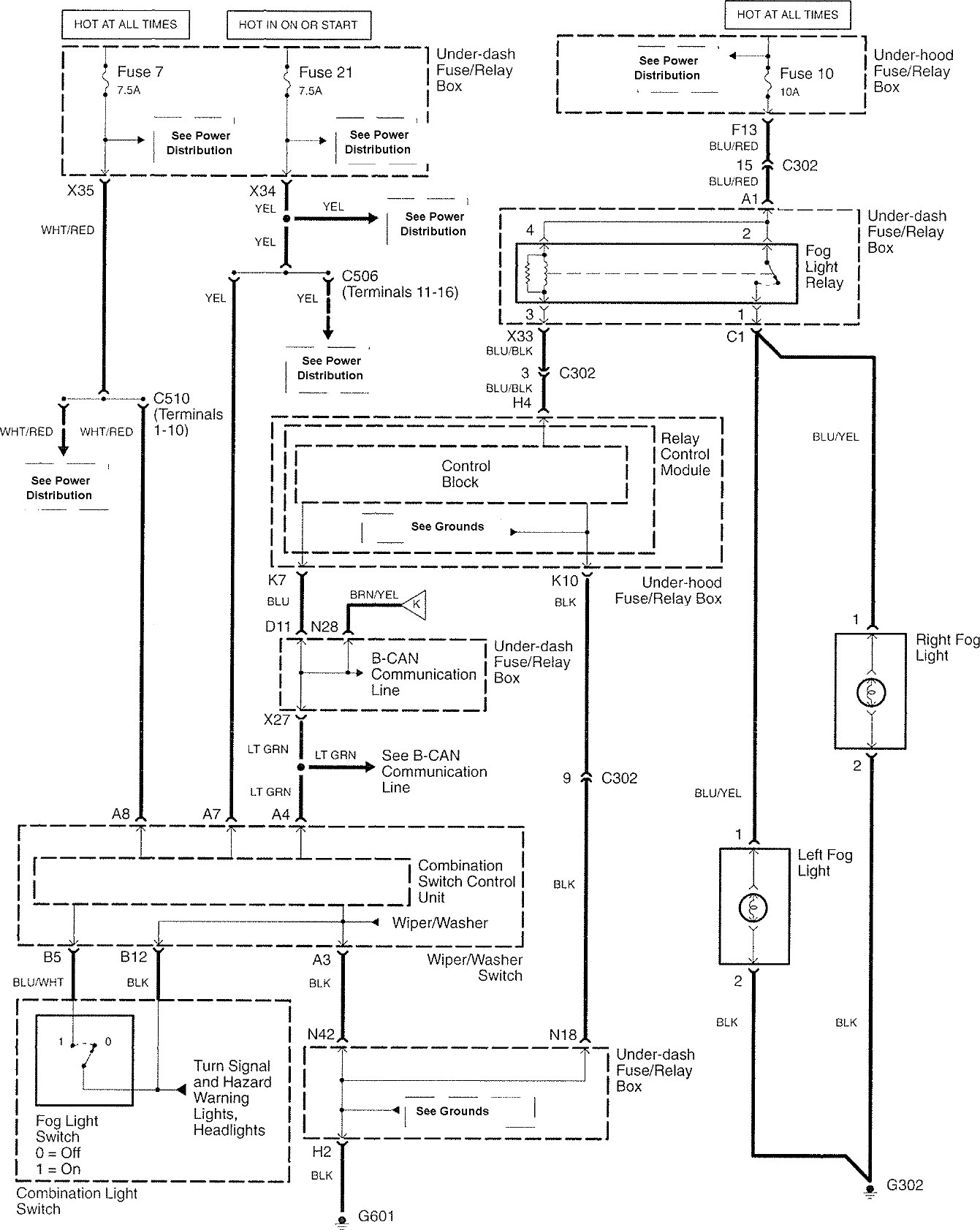
Acura TL (2007 – 2008) – wiring diagrams – fog lamps
Year of productions: 2007, 2008
Fog lamps


WARNING: Terminal and harness assignments for individual connectors will vary depending on vehicle equipment level, model, and market.
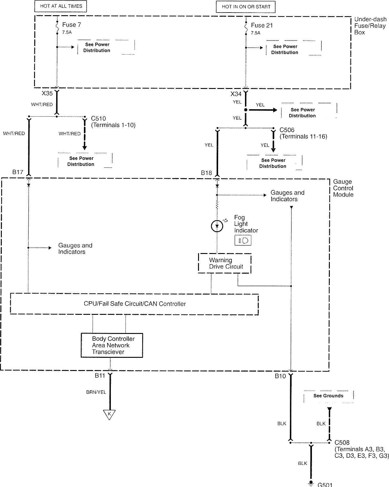
Year of productions: 2007, 2008


WARNING: Terminal and harness assignments for individual connectors will vary depending on vehicle equipment level, model, and market.
Copyright © 2025 | MH Magazine WordPress Theme by MH Themes