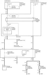
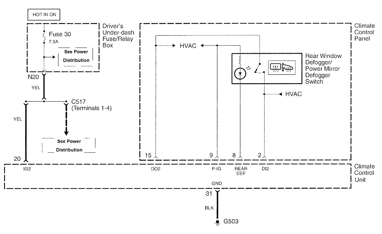
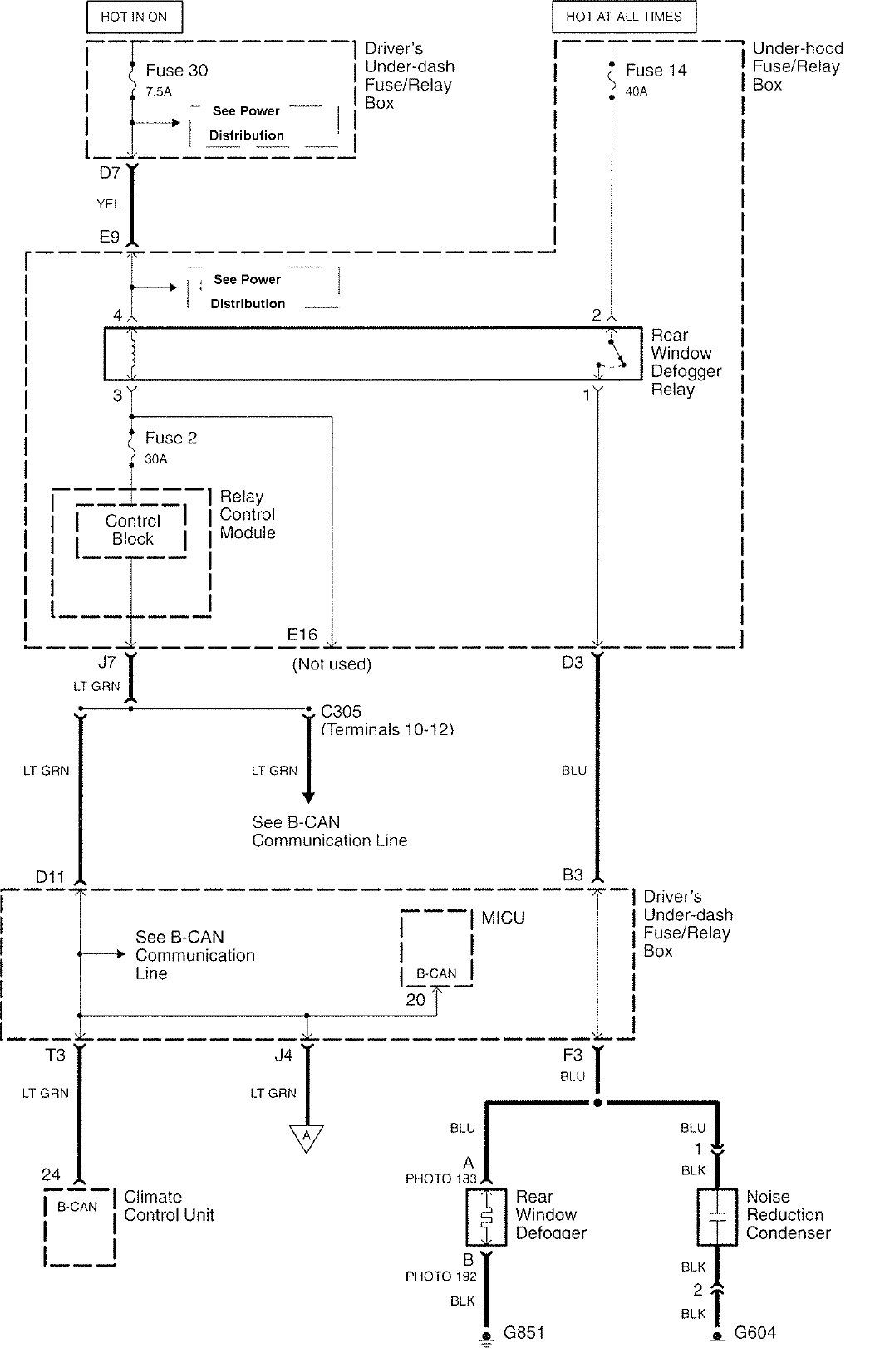
Acura RL (2007 – 2008) – wiring diagrams – power mirrors
Year of productions: 2007, 2008
Power mirrors




WARNING: Terminal and harness assignments for individual connectors will vary depending on vehicle equipment level, model, and market.
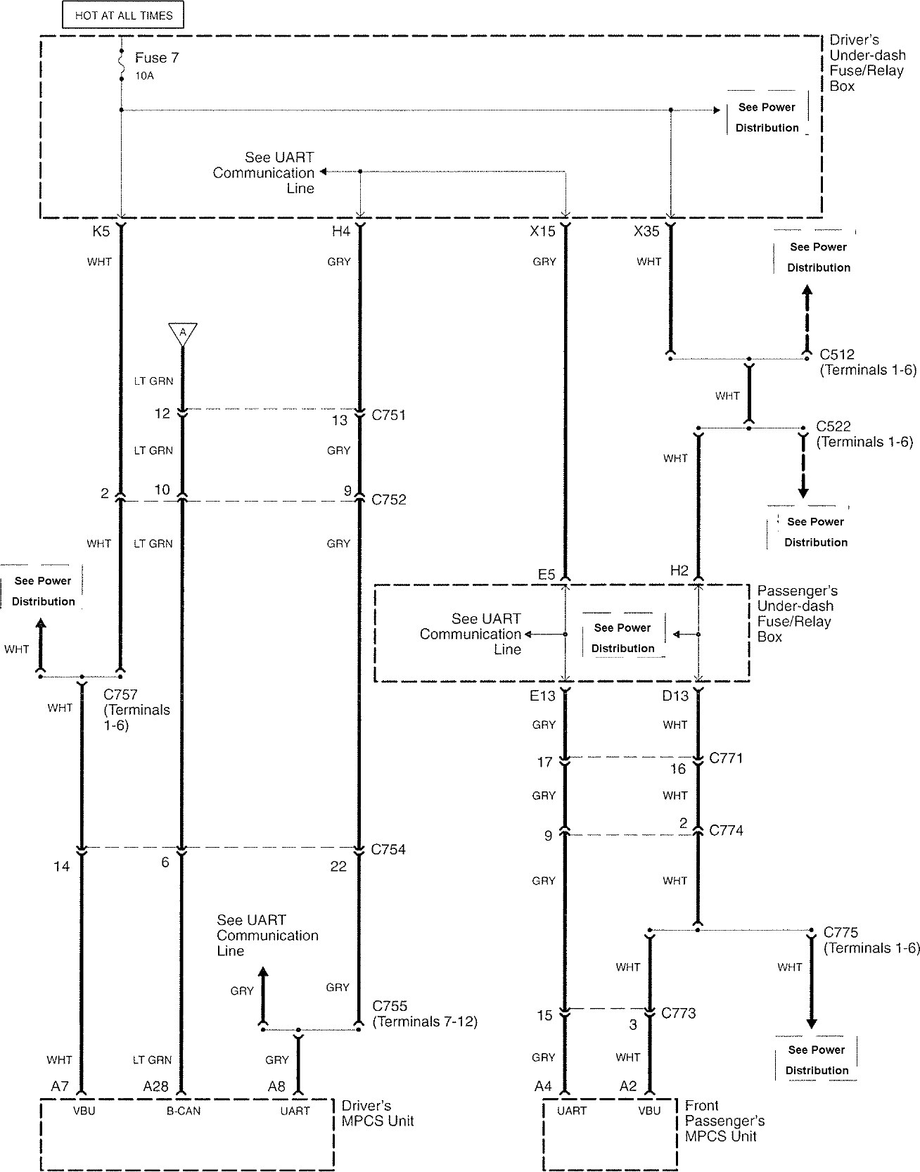
Year of productions: 2007, 2008




WARNING: Terminal and harness assignments for individual connectors will vary depending on vehicle equipment level, model, and market.
Copyright © 2026 | MH Magazine WordPress Theme by MH Themes