Acura Integra (1996 – 1999) – wiring diagrams – wiper/washer
Year of productions: 1996, 1997, 1998, 1999
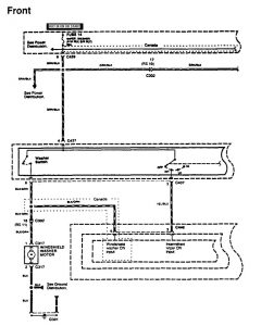
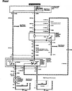
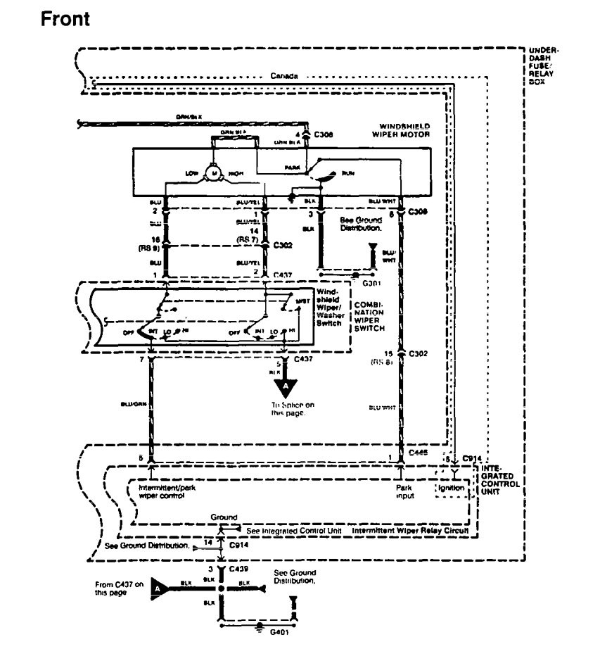
Wiper/washer
Version 1


Version 2

WARNING: Terminal and harness assignments for individual connectors will vary depending on vehicle equipment level, model, and market.

Leave a Reply