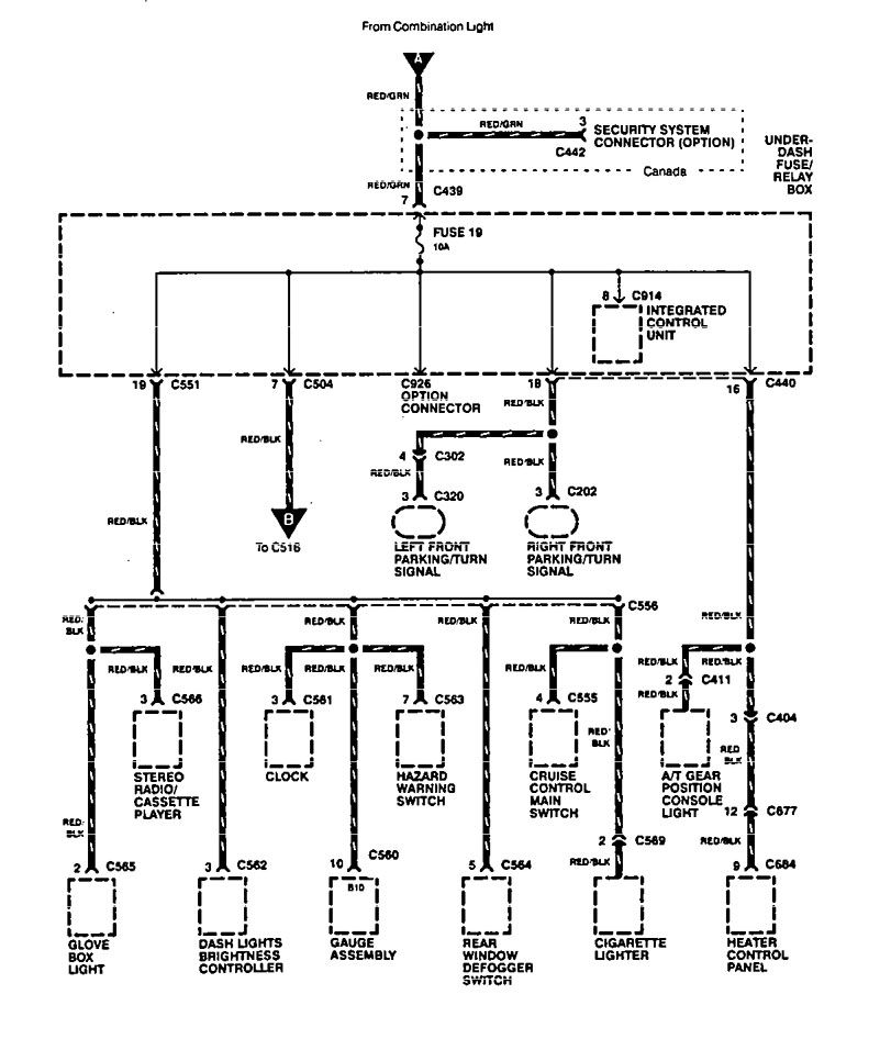
Acura Integra (1994 – 1997) – wiring diagrams – headlamp switch
Year of productions: 1994, 1995, 1996, 1997
Headlamp switch



WARNING: Terminal and harness assignments for individual connectors will vary depending on vehicle equipment level, model, and market.

Leave a Reply