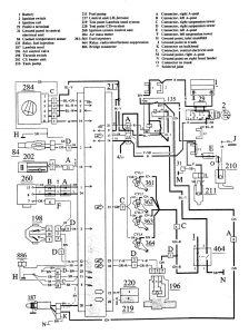
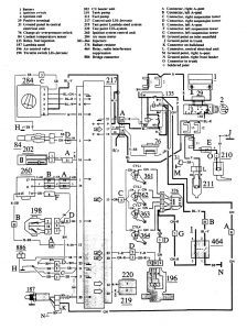
Volvo 740 (1988 – 1989) – wiring diagrams – fuel controls
Year of productions: 1988, 1989
Fuel controls
Version 1

Version 2

WARNING: Terminal and harness assignments for individual connectors will vary depending on vehicle equipment level, model, and market.
