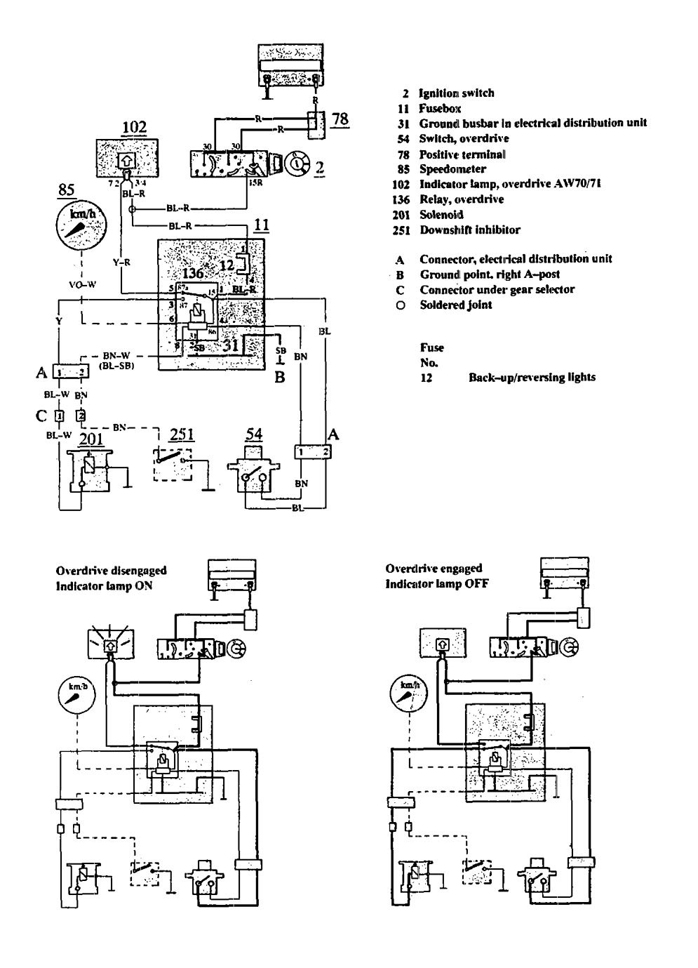
Volvo 940 (1991) – wiring diagrams – overdrive controls
Year of productions: 1991
Overdrive controls
Version 1

diagram – overdrive controls
Version 2

diagram – overdrive controls
WARNING: Terminal and harness assignments for individual connectors will vary depending on vehicle equipment level, model, and market.
